Cub Cadet Miniquad 50 36AA101-603 (2006) Zylinder, Zylinderkopf Ersatzteile
Zylinder, Zylinderkopf 36AA101-603 (2006)

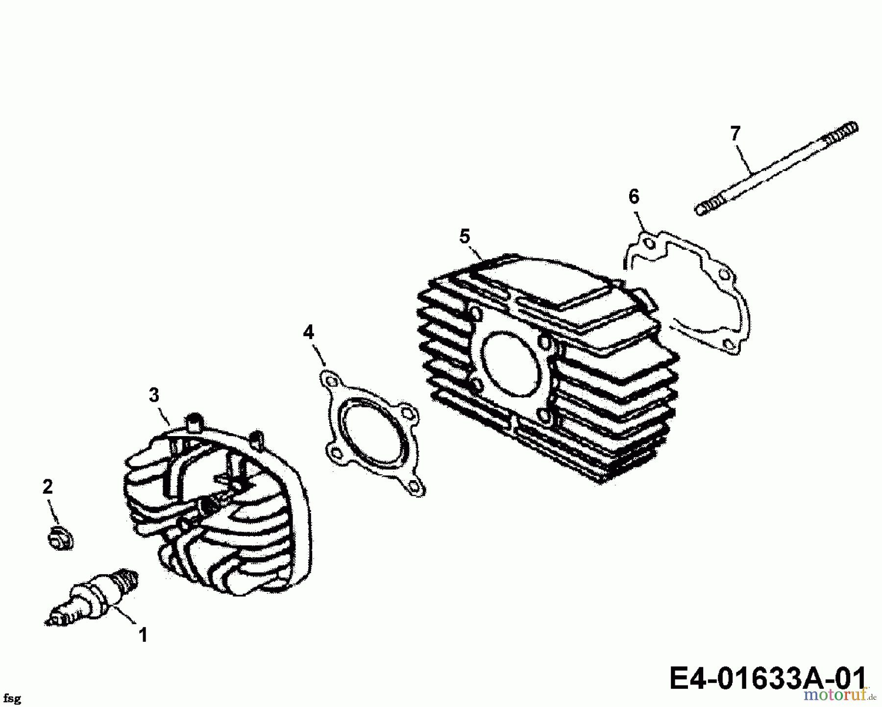
Hier finden Sie die Ersatzteilzeichnung für Cub Cadet Quads Miniquad 50 36AA101-603 (2006) Zylinder, Zylinderkopf. Wählen Sie das benötigte Ersatzteil aus der Ersatzteilliste Ihres Cub Cadet Gerätes aus und bestellen Sie einfach online. Viele Cub Cadet Ersatzteile halten wir ständig in unserem Lager für Sie bereit.
| BildNr | Artikel Nummer | Bezeichnung | |
| 1 | 092.55.888 | ZÜNDKERZE | |
| 2 | 092.56.140 | MUTTER | |
| 3 | 092.50.164 | ZYLINDERKOPF | |
| 4 | 092.50.179 | ZYLINDERKOPFDICHTUNG | |
| 5 | 092.50.141 | ZYLINDER | |
| 6 | 092.50.145 | ZYLINDERDICHTUNG | |
| 7 | 092.56.142 | BOLZEN | |



