Cub Cadet HDS 3185 14A-665-100 (1998) Hydraulische Lenkung Ersatzteile
Hydraulische Lenkung 14A-665-100 (1998)

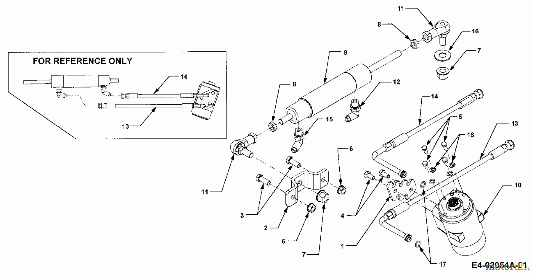
Hier finden Sie die Ersatzteilzeichnung für Cub Cadet Gartentraktoren HDS 3185 14A-665-100 (1998) Hydraulische Lenkung. Wählen Sie das benötigte Ersatzteil aus der Ersatzteilliste Ihres Cub Cadet Gerätes aus und bestellen Sie einfach online. Viele Cub Cadet Ersatzteile halten wir ständig in unserem Lager für Sie bereit.







