MTD 725 41AD725G678 (2003) Ersatzteile
41AD725G678 (2003) 725

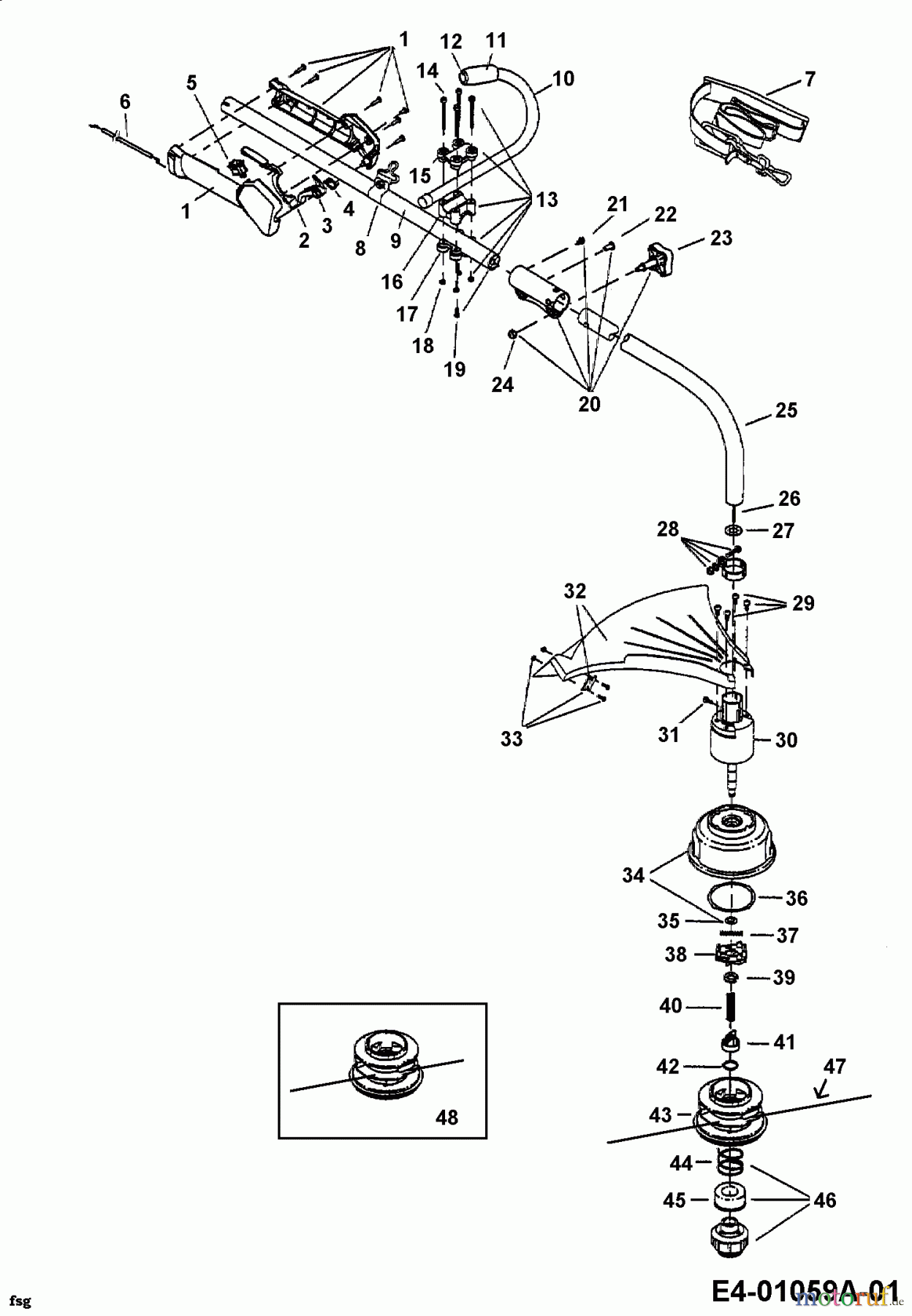
Hier finden Sie die Ersatzteilzeichnung für MTD Motorsensen 725 41AD725G678 (2003) Grundgerät. Wählen Sie das benötigte Ersatzteil aus der Ersatzteilliste Ihres MTD Gerätes aus und bestellen Sie einfach online. Viele MTD Ersatzteile halten wir ständig in unserem Lager für Sie bereit.




