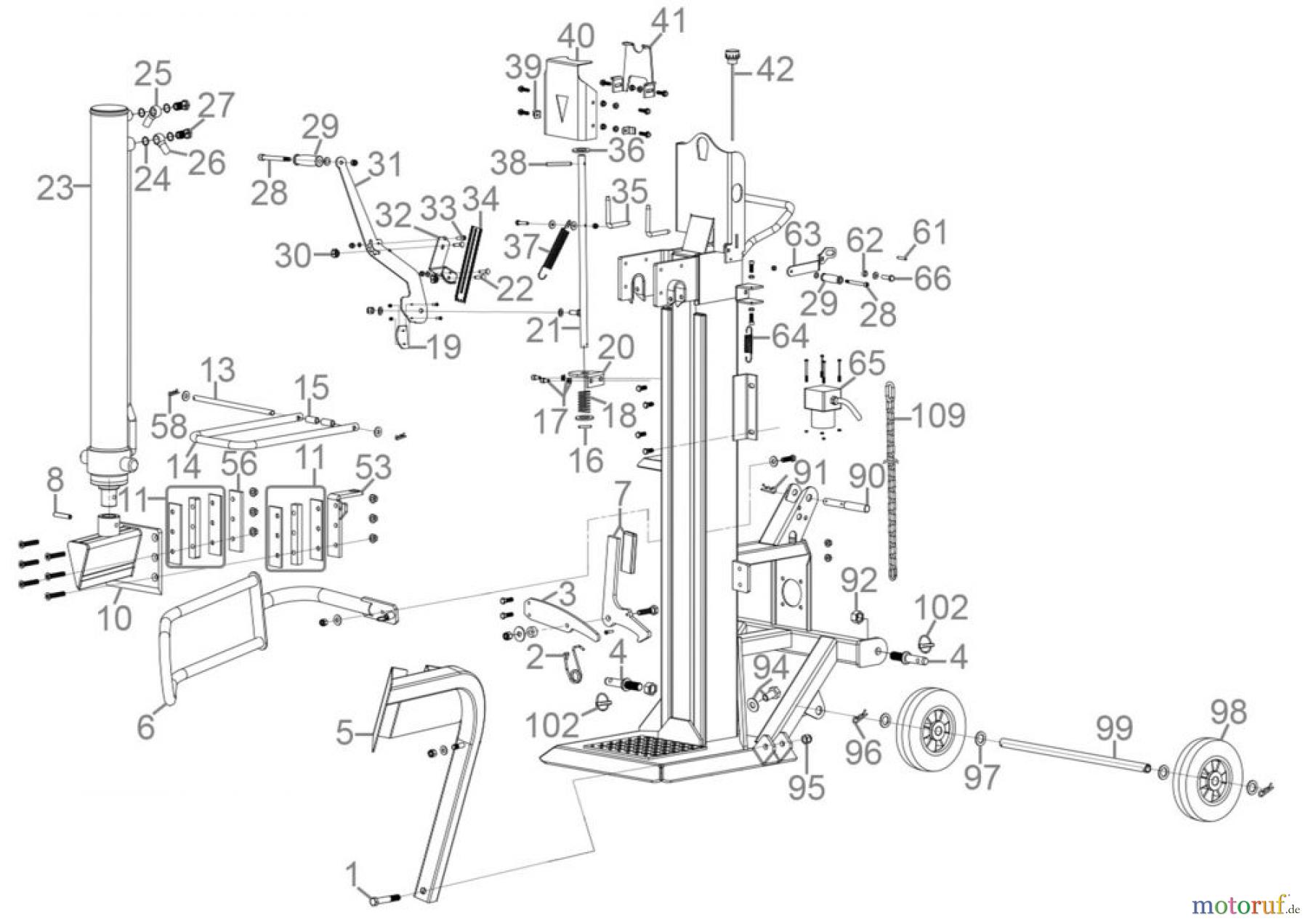
Güde über 10 t Spaltdruck Holzspalter GHS 1100/25TEZ-A Art.Nr.: 2085 FSL02085-01 Ersatzteile
FSL02085-01 Holzspalter GHS 1100/25TEZ-A Art.Nr.: 2085
Gültig für folgende Seriennummern (ersten 5 Ziffern der Geräteseriennummer)
78370 80998 81777 83983

Hier finden Sie die Ersatzteilzeichnung für Güde Brennholzbearbeitung Holzspalter über 10 t Spaltdruck Holzspalter GHS 1100/25TEZ-A Art.Nr.: 2085 FSL02085-01 Seite 1. Wählen Sie das benötigte Ersatzteil aus der Ersatzteilliste Ihres Güde Gerätes aus und bestellen Sie einfach online. Viele Güde Ersatzteile halten wir ständig in unserem Lager für Sie bereit.


Qualitätsmanagement
Informieren Sie uns, wenn Sie einen Fehler gefunden haben.

