Wolf-Garten Li-Ion Power 34 4919000 (2015) Messer, Motor Ersatzteile
Messer, Motor 4919000 (2015)

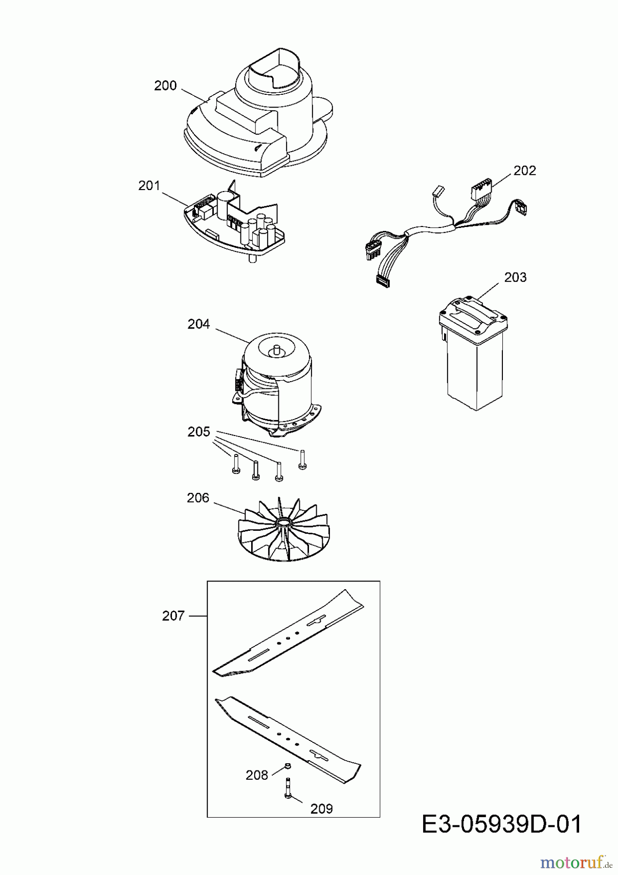
Hier finden Sie die Ersatzteilzeichnung für Wolf-Garten Akkumäher Li-Ion Power 34 4919000 (2015) Messer, Motor. Wählen Sie das benötigte Ersatzteil aus der Ersatzteilliste Ihres Wolf-Garten Gerätes aus und bestellen Sie einfach online. Viele Wolf-Garten Ersatzteile halten wir ständig in unserem Lager für Sie bereit.


Qualitätsmanagement
Informieren Sie uns, wenn Sie einen Fehler gefunden haben.

