Dolmar Benzin 343 HappyStart 7 Vergaser Ersatzteile
7 Vergaser 343 HappyStart

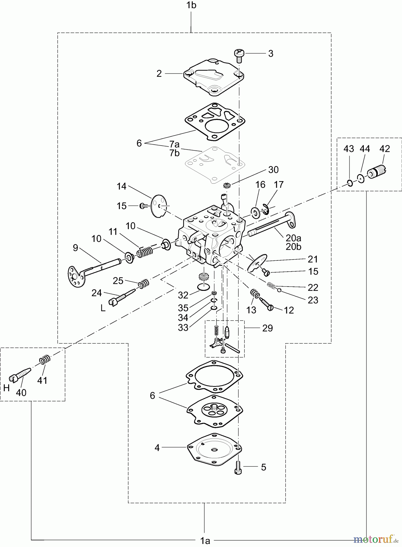
Hier finden Sie die Ersatzteilzeichnung für Dolmar Trennschleifer Benzin 343 HappyStart 7 Vergaser. Wählen Sie das benötigte Ersatzteil aus der Ersatzteilliste Ihres Dolmar Gerätes aus und bestellen Sie einfach online. Viele Dolmar Ersatzteile halten wir ständig in unserem Lager für Sie bereit.


Qualitätsmanagement
Informieren Sie uns, wenn Sie einen Fehler gefunden haben.

