Dolmar GE-3200 L 4 Reglerhebel Ersatzteile
4 Reglerhebel GE-3200 L

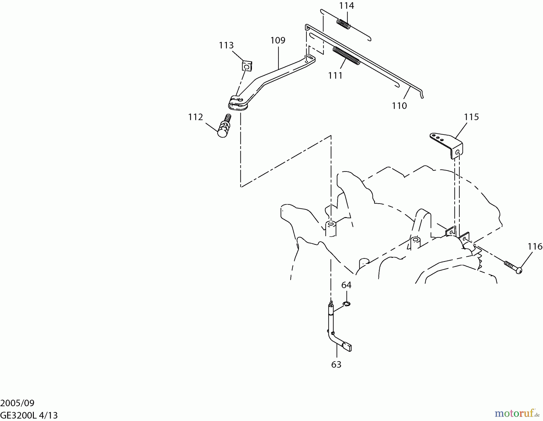
Hier finden Sie die Ersatzteilzeichnung für Dolmar Stromerzeuger GE-3200 L 4 Reglerhebel. Wählen Sie das benötigte Ersatzteil aus der Ersatzteilliste Ihres Dolmar Gerätes aus und bestellen Sie einfach online. Viele Dolmar Ersatzteile halten wir ständig in unserem Lager für Sie bereit.
| BildNr | Artikel Nummer | Bezeichnung | |
| 63 | 2774220133 | REGLERWELLE | |
| 64 | 0031305000 | SPRENGRING | |
| 109 | 2774230140 | REGLERHEBEL INC. 112, 113 | |
| 110 | 2774270123 | REGLERSTANGE KPL. | |
| 111 | 2774280123 | FEDER 7DX.5DX182L N=16 | |
| 112 | 0011406250 | SCHRAUBE MIT SCHEIBE | |
| 113 | 0186060020 | MUTTER M6X1.0X4.9H | |
| 114 | 368425250 | FEDER | |
| 115 | 368480010 | PLATTE KPL. | |
| 116 | 0043105550 | SCHRAUBE M5X55 | |



