Dolmar GE-2800 IS 13 Kraftstofftank Ersatzteile
13 Kraftstofftank GE-2800 IS

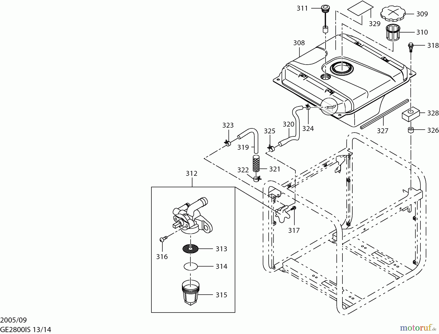
Hier finden Sie die Ersatzteilzeichnung für Dolmar Stromerzeuger GE-2800 IS 13 Kraftstofftank. Wählen Sie das benötigte Ersatzteil aus der Ersatzteilliste Ihres Dolmar Gerätes aus und bestellen Sie einfach online. Viele Dolmar Ersatzteile halten wir ständig in unserem Lager für Sie bereit.
| BildNr | Artikel Nummer | Bezeichnung | |
| 308 | 368601030 | KRAFTSTOFFTANK KPL. | |
| 309 | 368059001 | TANKVERSCHLUSS KPL. 59DX102DX15H | |
| 310 | 0641540011 | BENZINFILTER 54DX58DX48H | |
| 311 | 0648001500 | KRAFTSTOFFSTANDANZEIGER KPL. | |
| 312 | 368201030 | KRAFTSTOFFFILTER | |
| 313 | 368200932 | FILTER | |
| 314 | 0642006410 | DICHTUNG | |
| 315 | 368200781 | GEFÄß | |
| 316 | 368200479 | SCHRAUBE M3X8 | |
| 317 | 0110060020 | BOLZEN M6X1.0X14DX12L | |
| 318 | 0110060220 | BOLZEN | |
| 319 | 368106000 | SCHLAUCH 80MM | |
| 320 | 368660010 | SCHLAUCH | |
| 321 | 368173020 | SCHUTZ | |
| 322 | 0561110020 | SCHLAUCHKLEMME 11D | |
| 323 | 0561100030 | SCHLAUCHKLEMME 10DX8BX1T | |
| 324 | 0561110020 | SCHLAUCHKLEMME 11D | |
| 325 | 368113001 | SCHLAUCHKLEMME 13D | |
| 326 | 3913900013 | GUMMI | |
| 327 | 368670010 | ABDICHTUNG | |
| 328 | 368670020 | ABDICHTUNG | |
| 329 | 0732004510 | SCHILD | |



