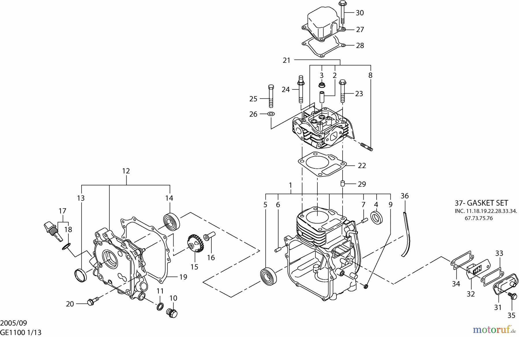
Dolmar GE-1100 1 Kurbelgehäuse, Zylinder Ersatzteile
1 Kurbelgehäuse, Zylinder GE-1100

Hier finden Sie die Ersatzteilzeichnung für Dolmar Stromerzeuger GE-1100 1 Kurbelgehäuse, Zylinder. Wählen Sie das benötigte Ersatzteil aus der Ersatzteilliste Ihres Dolmar Gerätes aus und bestellen Sie einfach online. Viele Dolmar Ersatzteile halten wir ständig in unserem Lager für Sie bereit.



