Dolmar Benzin 2-Takt MS-252 2 Vergaser, Luftfilter Ersatzteile
2 Vergaser, Luftfilter MS-252

Hier finden Sie die Ersatzteilzeichnung für Dolmar Motorsensen & Trimmer Benzin 2-Takt MS-252 2 Vergaser, Luftfilter. Wählen Sie das benötigte Ersatzteil aus der Ersatzteilliste Ihres Dolmar Gerätes aus und bestellen Sie einfach online. Viele Dolmar Ersatzteile halten wir ständig in unserem Lager für Sie bereit.
Häufig benötigte Dolmar Benzin 2-Takt MS-252 2 Vergaser, Luftfilter Ersatzteile

Artikelnummer: DR424314-7
Suche nach: 424314-7
Hersteller: Dolmar
Dolmar Ersatzteil 2 Vergaser, Luftfilter
Suche nach: 424314-7
Hersteller: Dolmar
Dolmar Ersatzteil 2 Vergaser, Luftfilter
4.79 €
für EU incl. MwSt., zzgl. Versand
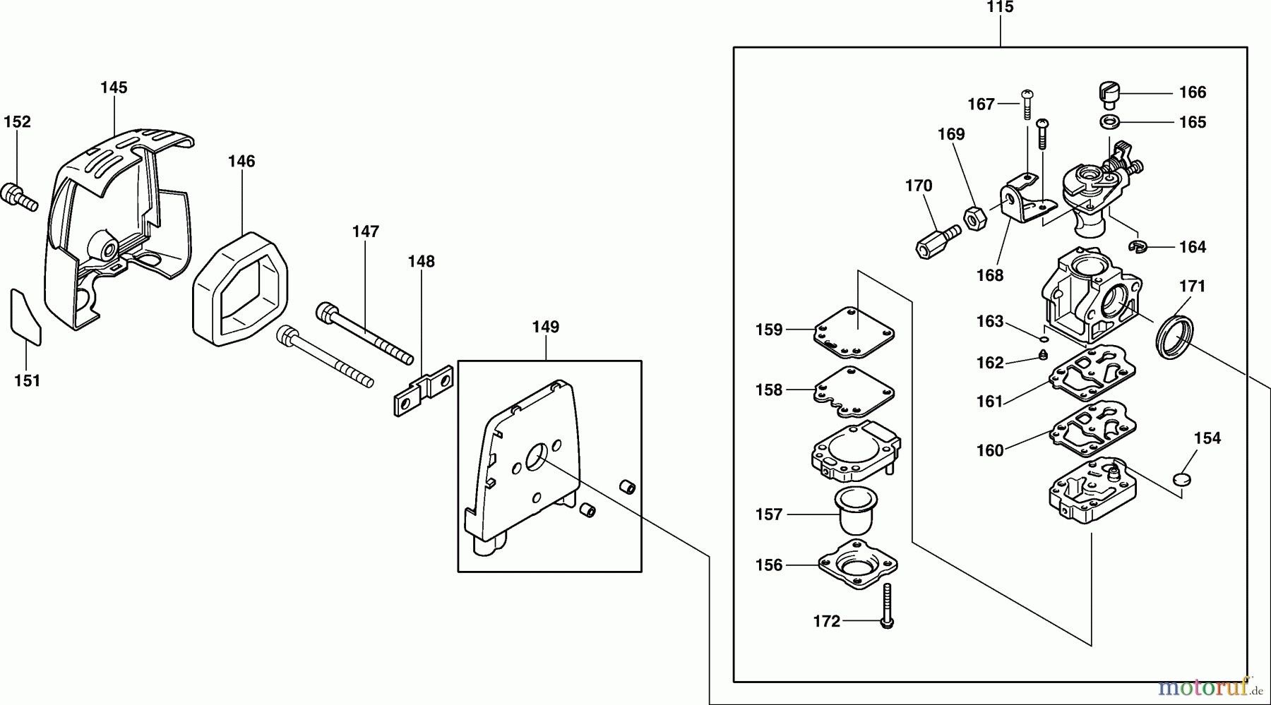
| BildNr | Artikel Nummer | Bezeichnung | |
| 115 | 168669-7 | VERGASER | |
| 145 | 388350260 | LUFTFILTERDECKEL | |
| 146 | 443167-5 | LUFTFILTER | |
| 147 | 905405608 | SCHRAUBE M5X60 | |
| 148 | 381350240 | SCHELLE | |
| 149 | 140993-0 | LUFTFILTERBODEN KPL. | |
| 151 | 388625988 | LABEL | |
| 152 | 221233160 | SCHRAUBE KPL. M5X14 W/W&SW | |
| 154 | WJ00014070 | SIEB | |
| 156 | 5236046050 | PRIMERDECKEL | |
| 157 | ![]() | 424314-7 | PRIMER PUMPE |
| 158 | WJ00095586 | STEUERMEMBRAN | |
| 159 | 442154-1 | DICHTUNG | |
| 160 | ![]() | WJ00009599 | PUMPENMEMBRAN |
| 161 | 442172-9 | DICHTUNG | |
| 162 | WJ00112245 | DÜSE MARKING: 38 | |
| 163 | 213538-8 | O-RING 2 | |
| 164 | 257964-1 | SICHERUNGSRING E-3 | |
| 165 | 5426005030 | SCHEIBE | |
| 166 | 325922-6 | DREHGELENK | |
| 167 | 5246001240 | SCHRAUBE | |
| 168 | 381605202 | GASZUGHALTER | |
| 169 | 381600545 | MUTTER | |
| 170 | 381602002 | STELLSCHRAUBE | |
| 171 | 424444-4 | O-RING | |
| 172 | 367266582 | BLECHSCHRAUBE 3X24 | |





