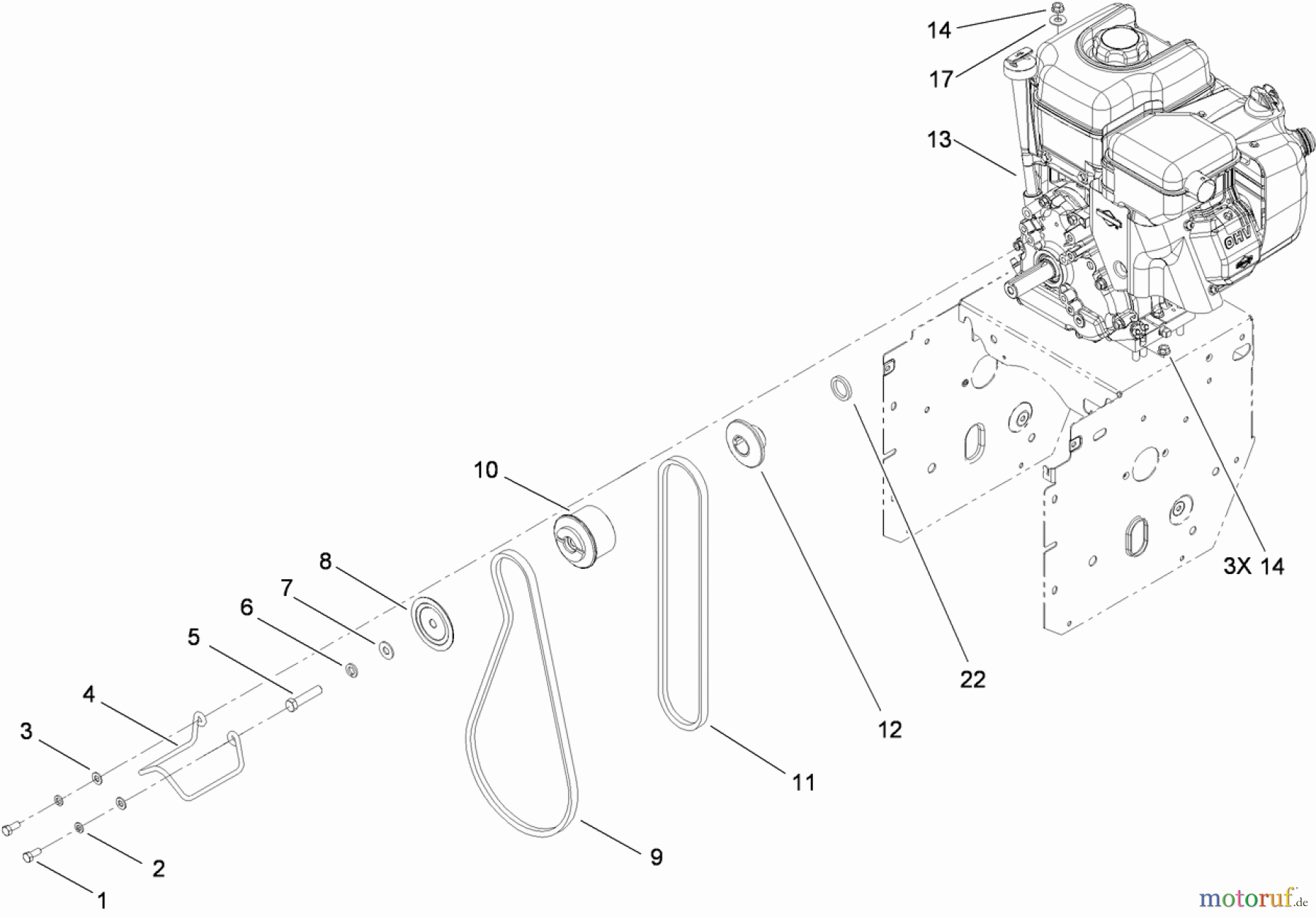
Toro 38644 (1028 OXE) - Power Max 1028 OXE Snowthrower, 2010 (310000001-310999999) ENGINE ASSEMBLY Ersatzteile
ENGINE ASSEMBLY 38644 (1028 OXE) - Toro Power Max 1028 OXE Snowthrower, 2010 (310000001-310999999)

Hier finden Sie die Ersatzteilzeichnung für Toro Neu Snow Blowers/Snow Throwers Seite 2 38644 (1028 OXE) - Toro Power Max 1028 OXE Snowthrower, 2010 (310000001-310999999) ENGINE ASSEMBLY. Wählen Sie das benötigte Ersatzteil aus der Ersatzteilliste Ihres Toro Gerätes aus und bestellen Sie einfach online. Viele Toro Ersatzteile halten wir ständig in unserem Lager für Sie bereit.




