Toro 38639 (828 OE) - Power Max 828 OE Snowthrower, 2008 (280000001-280999999) ENGINE ASSEMBLY Ersatzteile
ENGINE ASSEMBLY 38639 (828 OE) - Toro Power Max 828 OE Snowthrower, 2008 (280000001-280999999)

Hier finden Sie die Ersatzteilzeichnung für Toro Neu Snow Blowers/Snow Throwers Seite 2 38639 (828 OE) - Toro Power Max 828 OE Snowthrower, 2008 (280000001-280999999) ENGINE ASSEMBLY. Wählen Sie das benötigte Ersatzteil aus der Ersatzteilliste Ihres Toro Gerätes aus und bestellen Sie einfach online. Viele Toro Ersatzteile halten wir ständig in unserem Lager für Sie bereit.
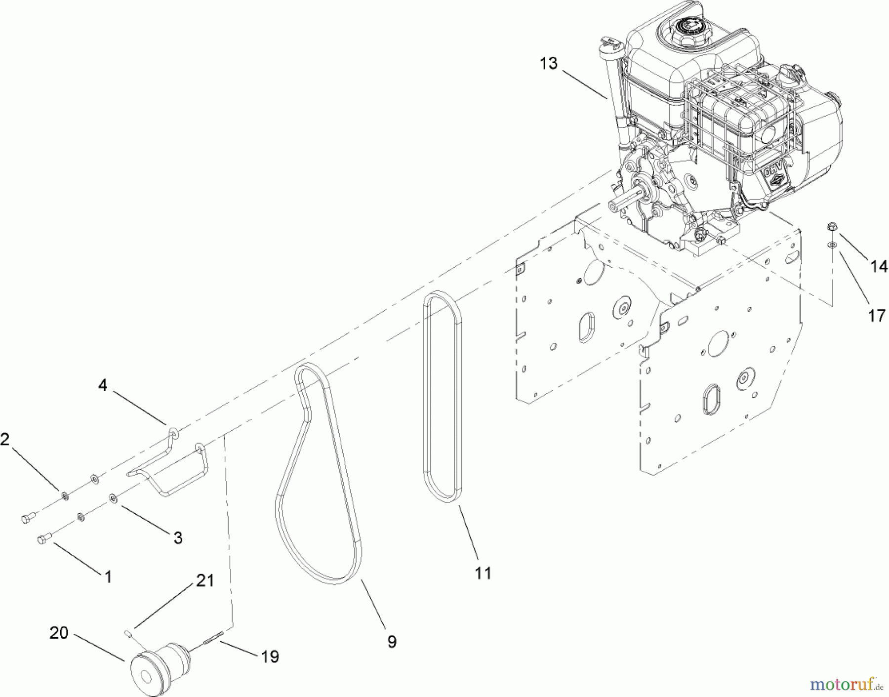
| BildNr | Artikel Nummer | Bezeichnung | |
| 1 | TR3210-3 | Schraube | |
| 2 | TR3253-4 | Federring | |
| 3 | TR3256-23 | Scheibe | |
| 4 | TR107-3835 | Riemenfuehrung | |
| 9 | TR106-4498 | KEILRIEMEN-RAEUMSCHNECKE | |
| 11 | TR94-8812 | Keilriemen | |
| 13 | TR | ||
| 14 | ![]() | TR32128-20 | Mutter |
| 17 | TR3256-2 | Scheibe | |
| 19 | TR7-0036 | KEY-SQUARE | |
| 20 | TR114-9252 | PULLEY-ENGINE | |
| 21 | TR3245-9 | Schraube | |



