Toro 38116 (CR-20R) - CR-20 Snowthrower, 1988 (8000001-8999999) CARBURETOR NO. 632142A Ersatzteile
CARBURETOR NO. 632142A 38116 (CR-20R) - Toro CR-20 Snowthrower, 1988 (8000001-8999999)

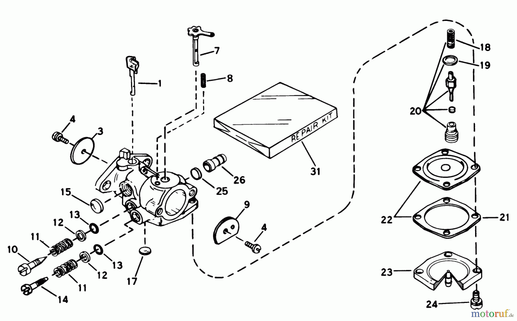
Hier finden Sie die Ersatzteilzeichnung für Toro Neu Snow Blowers/Snow Throwers Seite 1 38116 (CR-20R) - Toro CR-20 Snowthrower, 1988 (8000001-8999999) CARBURETOR NO. 632142A. Wählen Sie das benötigte Ersatzteil aus der Ersatzteilliste Ihres Toro Gerätes aus und bestellen Sie einfach online. Viele Toro Ersatzteile halten wir ständig in unserem Lager für Sie bereit.


