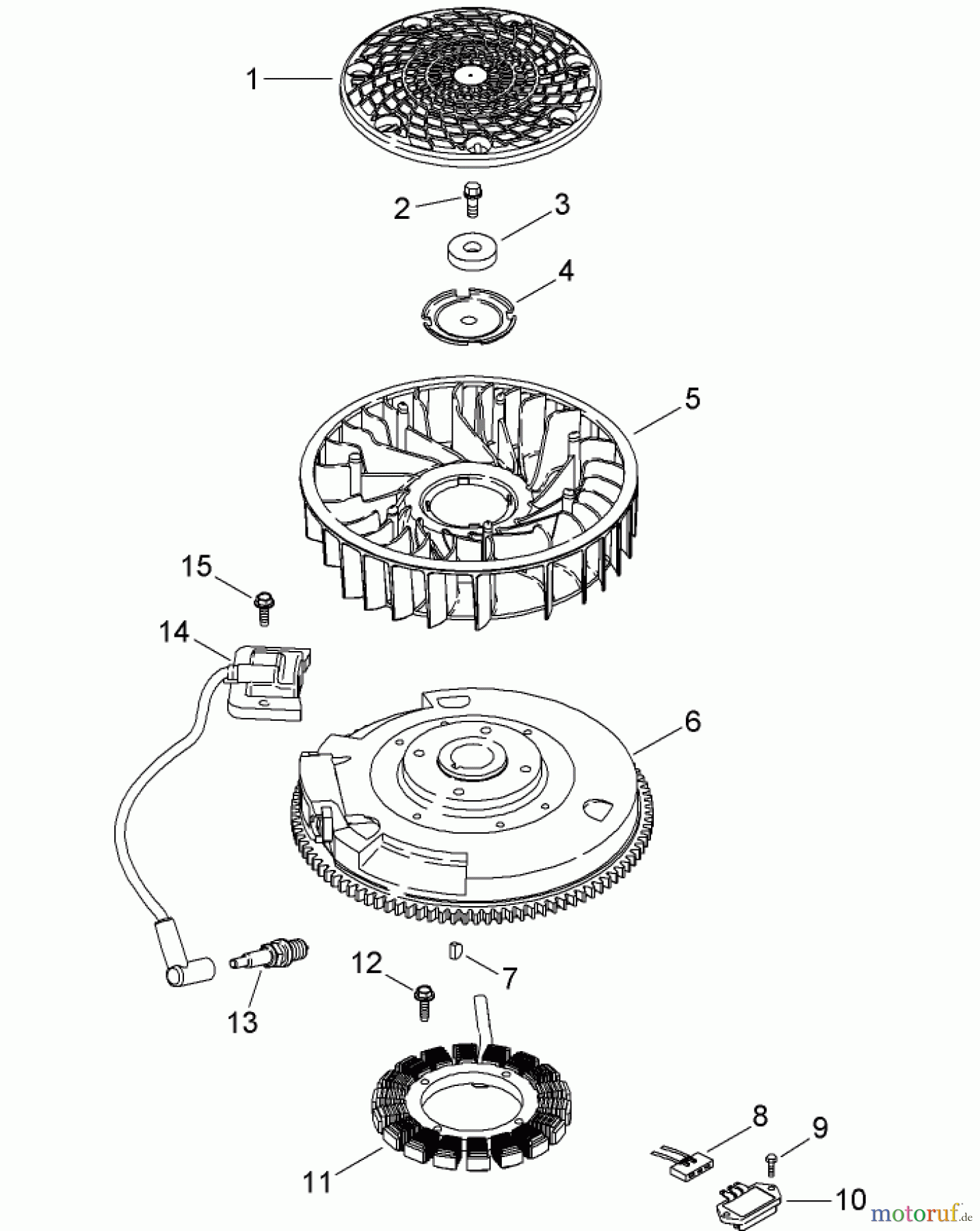
Toro 74818 (Z5200) - TITAN Z5200 Zero-Turn-Radius Riding Mower, 2008 (280000001-280999999) IGNITION AND ELECTRICAL ASSEMBLY KOHLER SV830-0014 Ersatzteile
IGNITION AND ELECTRICAL ASSEMBLY KOHLER SV830-0014 74818 (Z5200) - Toro TITAN Z5200 Zero-Turn-Radius Riding Mower, 2008 (280000001-280999999)

Hier finden Sie die Ersatzteilzeichnung für Toro Neu Mowers, Zero-Turn 74818 (Z5200) - Toro TITAN Z5200 Zero-Turn-Radius Riding Mower, 2008 (280000001-280999999) IGNITION AND ELECTRICAL ASSEMBLY KOHLER SV830-0014. Wählen Sie das benötigte Ersatzteil aus der Ersatzteilliste Ihres Toro Gerätes aus und bestellen Sie einfach online. Viele Toro Ersatzteile halten wir ständig in unserem Lager für Sie bereit.



