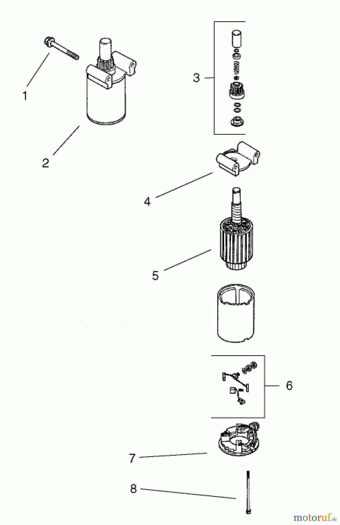
Toro 74601 (Z17-44) - Z17-44 TimeCutter Z Riding Mower, 2002 (220000001-220000912) STARTING SYSTEM ASSEMBLY KOHLER CV 490-27503 Ersatzteile
STARTING SYSTEM ASSEMBLY KOHLER CV 490-27503 74601 (Z17-44) - Toro Z17-44 TimeCutter Z Riding Mower, 2002 (220000001-220000912)

Hier finden Sie die Ersatzteilzeichnung für Toro Neu Mowers, Zero-Turn 74601 (Z17-44) - Toro Z17-44 TimeCutter Z Riding Mower, 2002 (220000001-220000912) STARTING SYSTEM ASSEMBLY KOHLER CV 490-27503. Wählen Sie das benötigte Ersatzteil aus der Ersatzteilliste Ihres Toro Gerätes aus und bestellen Sie einfach online. Viele Toro Ersatzteile halten wir ständig in unserem Lager für Sie bereit.



