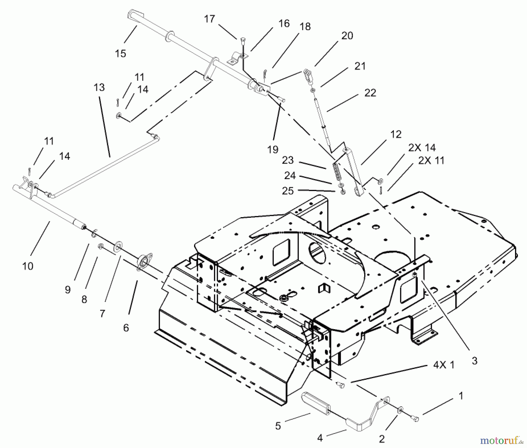
Toro 74601 (17K-44ZX) - 17K-44ZX TimeCutter ZX Riding Mower, 2003 (230000001-230999999) PARKING BRAKE ASSEMBLY Ersatzteile
PARKING BRAKE ASSEMBLY 74601 (17K-44ZX) - Toro 17K-44ZX TimeCutter ZX Riding Mower, 2003 (230000001-230999999)

Hier finden Sie die Ersatzteilzeichnung für Toro Neu Mowers, Zero-Turn 74601 (17K-44ZX) - Toro 17K-44ZX TimeCutter ZX Riding Mower, 2003 (230000001-230999999) PARKING BRAKE ASSEMBLY. Wählen Sie das benötigte Ersatzteil aus der Ersatzteilliste Ihres Toro Gerätes aus und bestellen Sie einfach online. Viele Toro Ersatzteile halten wir ständig in unserem Lager für Sie bereit.





