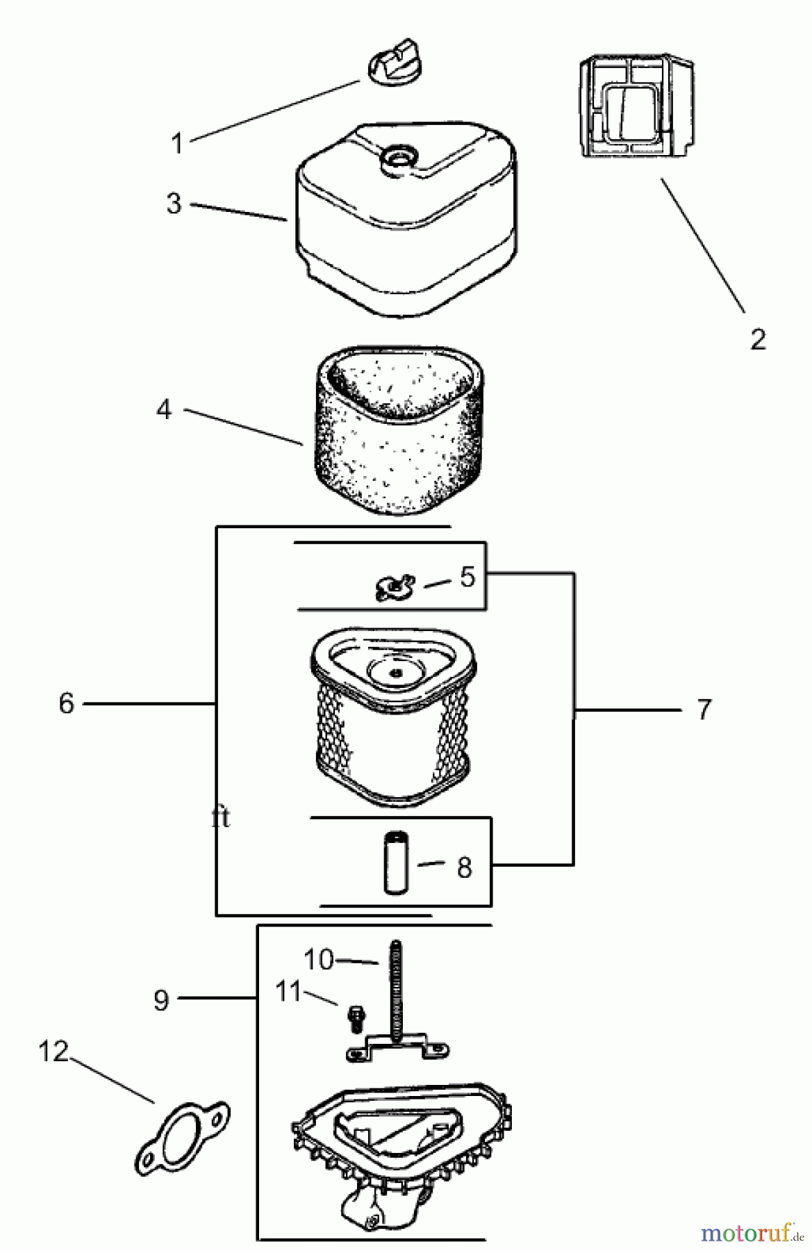
Toro 74601 (17K-44ZX) - 17K-44ZX TimeCutter ZX Riding Mower, 2003 (230000001-230999999) AIR INTAKE/FILTRATION ASSEMBLY KOHLER CV 490S-27503 Ersatzteile
AIR INTAKE/FILTRATION ASSEMBLY KOHLER CV 490S-27503 74601 (17K-44ZX) - Toro 17K-44ZX TimeCutter ZX Riding Mower, 2003 (230000001-230999999)

Hier finden Sie die Ersatzteilzeichnung für Toro Neu Mowers, Zero-Turn 74601 (17K-44ZX) - Toro 17K-44ZX TimeCutter ZX Riding Mower, 2003 (230000001-230999999) AIR INTAKE/FILTRATION ASSEMBLY KOHLER CV 490S-27503. Wählen Sie das benötigte Ersatzteil aus der Ersatzteilliste Ihres Toro Gerätes aus und bestellen Sie einfach online. Viele Toro Ersatzteile halten wir ständig in unserem Lager für Sie bereit.


Qualitätsmanagement
Informieren Sie uns, wenn Sie einen Fehler gefunden haben.

