Toro 73422 (416-8) - 416-8 Garden Tractor, 1997 (7900001-7999999) GAGES, WARNING LIGHTS & CONTROLS Ersatzteile
GAGES, WARNING LIGHTS & CONTROLS 73422 (416-8) - Toro 416-8 Garden Tractor, 1997 (7900001-7999999)

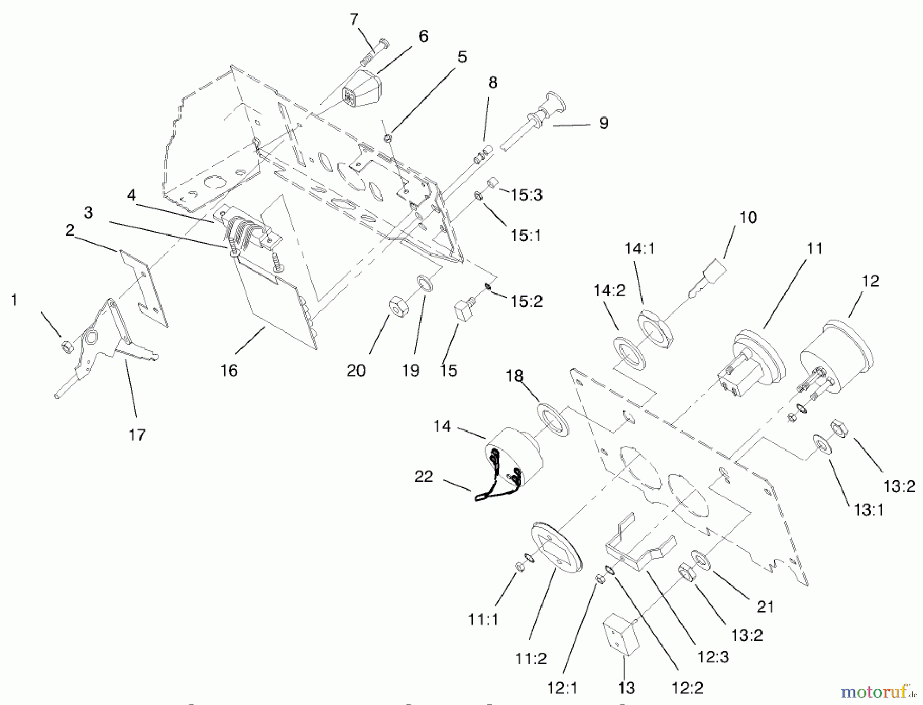
Hier finden Sie die Ersatzteilzeichnung für Toro Neu Mowers, Lawn & Garden Tractor Seite 1 73422 (416-8) - Toro 416-8 Garden Tractor, 1997 (7900001-7999999) GAGES, WARNING LIGHTS & CONTROLS. Wählen Sie das benötigte Ersatzteil aus der Ersatzteilliste Ihres Toro Gerätes aus und bestellen Sie einfach online. Viele Toro Ersatzteile halten wir ständig in unserem Lager für Sie bereit.



