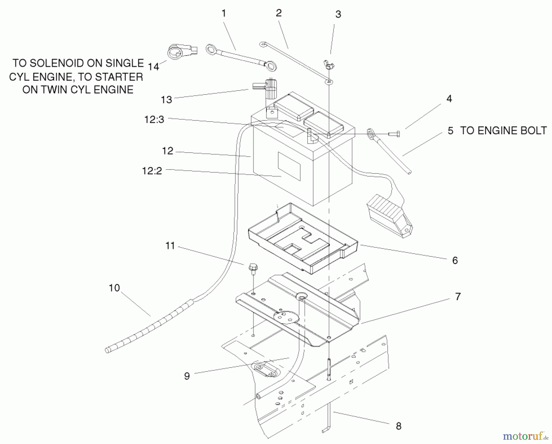
Toro 72107 (268-HE) - 268-HE Lawn and Garden Tractor, 2000 (200000001-200999999) BATTERY ASSEMBLY Ersatzteile
BATTERY ASSEMBLY 72107 (268-HE) - Toro 268-HE Lawn and Garden Tractor, 2000 (200000001-200999999)

Hier finden Sie die Ersatzteilzeichnung für Toro Neu Mowers, Lawn & Garden Tractor Seite 1 72107 (268-HE) - Toro 268-HE Lawn and Garden Tractor, 2000 (200000001-200999999) BATTERY ASSEMBLY. Wählen Sie das benötigte Ersatzteil aus der Ersatzteilliste Ihres Toro Gerätes aus und bestellen Sie einfach online. Viele Toro Ersatzteile halten wir ständig in unserem Lager für Sie bereit.





