Toro 72051 (265-H) - 265-H Lawn and Garden Tractor, 2001 (210000001-210999999) HYDRO DRIVE COMPONENTS ASSEMBLY Ersatzteile
HYDRO DRIVE COMPONENTS ASSEMBLY 72051 (265-H) - Toro 265-H Lawn and Garden Tractor, 2001 (210000001-210999999)

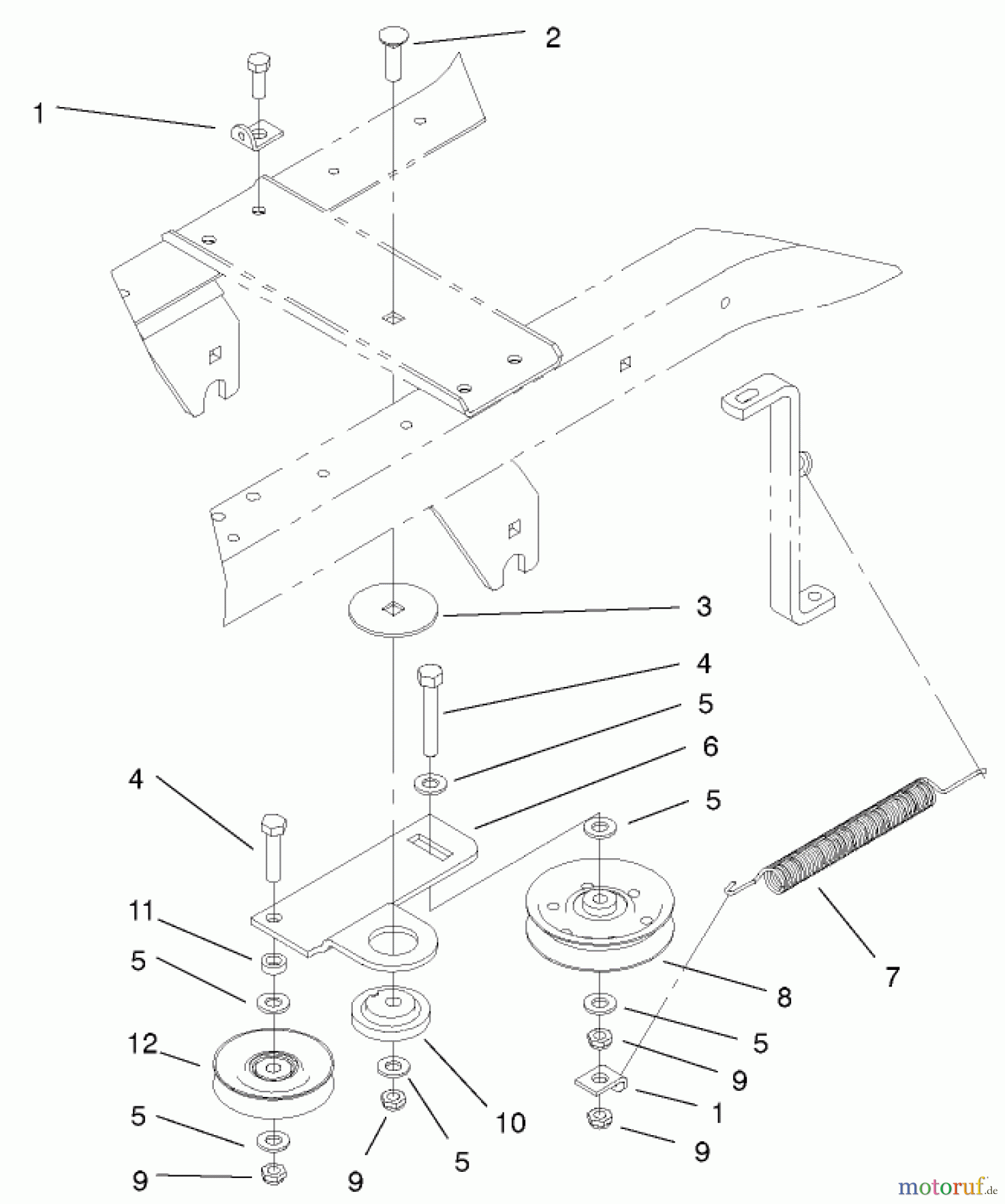
Hier finden Sie die Ersatzteilzeichnung für Toro Neu Mowers, Lawn & Garden Tractor Seite 1 72051 (265-H) - Toro 265-H Lawn and Garden Tractor, 2001 (210000001-210999999) HYDRO DRIVE COMPONENTS ASSEMBLY. Wählen Sie das benötigte Ersatzteil aus der Ersatzteilliste Ihres Toro Gerätes aus und bestellen Sie einfach online. Viele Toro Ersatzteile halten wir ständig in unserem Lager für Sie bereit.
| BildNr | Artikel Nummer | Bezeichnung | |
| 1 | TR2534 | Federaufhaengung | |
| 2 | TR3231-25 | Bolzen | |
| 3 | TR11-1419 | Rad | |
| 4 | TR323-10 | Schraube | |
| 5 | ![]() | TR3256-24 | WASHER-FLAT |
| 6 | TR92-6900 | Spannrollenarm | |
| 7 | TR79-7530 | Feder | |
| 8 | TR92-7101 | Riemenscheibe | |
| 9 | TR3296-59 | Mutter | |
| 10 | TR111418 | Platte | |
| 11 | TR93-3658 | Distanzstueck V | |
| 12 | TR92-7102 | Riemenscheibe | |


Qualitätsmanagement
Informieren Sie uns, wenn Sie einen Fehler gefunden haben.


