Toro 55275 (888) - 888 matic Tractor, 1972 (2000001-2999999) MODEL NO. 390811 CARBURETOR ASSEMBLY (FOR ENGINE 190707-0626) Ersatzteile
MODEL NO. 390811 CARBURETOR ASSEMBLY (FOR ENGINE 190707-0626) 55275 (888) - Toro 888 Toromatic Tractor, 1972 (2000001-2999999)

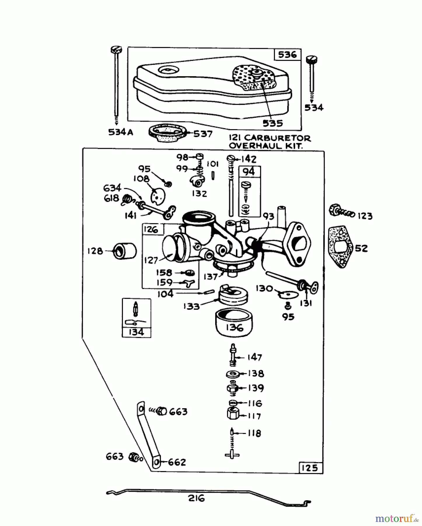
Hier finden Sie die Ersatzteilzeichnung für Toro Neu Mowers, Lawn & Garden Tractor Seite 1 55275 (888) - Toro 888 Toromatic Tractor, 1972 (2000001-2999999) MODEL NO. 390811 CARBURETOR ASSEMBLY (FOR ENGINE 190707-0626). Wählen Sie das benötigte Ersatzteil aus der Ersatzteilliste Ihres Toro Gerätes aus und bestellen Sie einfach online. Viele Toro Ersatzteile halten wir ständig in unserem Lager für Sie bereit.
| BildNr | Artikel Nummer | Bezeichnung | |
| 147 | BS | Eingangswelle UE 600 | |
| 93 | BS691769 | BUECHSE | |
| 147 | BS | Eingangswelle UE 600 | |
| 95 | BS93038 | ||
| 98 | BS691615 | SCHRAUBE 93263 | |
| 99 | BS691591 | FEDER | |
| 101 | BS691616 | STIFT | |
| 147 | BS | Eingangswelle UE 600 | |
| 108 | BS222010 | STARTERKLAPPE | |
| 147 | BS | Eingangswelle UE 600 | |
| 121 | BS299852 | VERWEIS ZU | |
| 123 | BS94616 | ||
| 125 | BS491590 | VERGASER | |
| 126 | TR390812 | ||
| 127 | BS221997 | STOPFEN | |
| 128 | BS211682 | LUFTTRICHTER | |
| 130 | BS221986 | DROSSELKLAPPE | |
| 131 | BS299650 | ||
| 132 | BS211712 | ANSCHLAG 61967 | |
| 133 | ![]() | BS299707 | SCHWIMMER |
| 147 | BS | Eingangswelle UE 600 | |
| 136 | BS221995 | SCHWIMMERGEHAEUSE | |
| 147 | BS | Eingangswelle UE 600 | |
| 141 | BS390684 | WELLE F. LUFTKLAPPE | |
| 147 | BS | Eingangswelle UE 600 | |
| 158 | BS27590 | FILTERROHR | |
| 159 | BS220521 | HALTER | |
| 216 | BS261117 | GESTAENGE | |
| 534 | BS93323 | SCHRAUBE | |
| 534A | BS93622 | SCHRAUBE | |
| 535 | BS270528S | LUFTFILTER | |
| 536 | BS390379 | LUFTFILTER 299849 | |
| 537 | BS270539 | DICHTUNG | |
| 618 | BS261116 | FEDER | |
| 634 | BS691869 | SCHEIBE | |
| 662 | BS224440 | VERGASERHALTER | |
| 663 | BS94602 | ||




