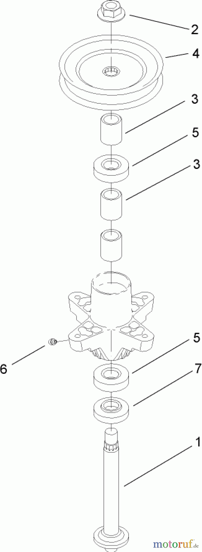
Toro 14AK81RK544 (GT2300) - GT2300 Garden Tractor, 2006 (1A186H30000-) SPINDLE ASSEMBLY NO. 112-0915 Ersatzteile
SPINDLE ASSEMBLY NO. 112-0915 14AK81RK544 (GT2300) - Toro GT2300 Garden Tractor, 2006 (1A186H30000-)

Hier finden Sie die Ersatzteilzeichnung für Toro Neu Mowers, Lawn & Garden Tractor Seite 1 14AK81RK544 (GT2300) - Toro GT2300 Garden Tractor, 2006 (1A186H30000-) SPINDLE ASSEMBLY NO. 112-0915. Wählen Sie das benötigte Ersatzteil aus der Ersatzteilliste Ihres Toro Gerätes aus und bestellen Sie einfach online. Viele Toro Ersatzteile halten wir ständig in unserem Lager für Sie bereit.
| BildNr | Artikel Nummer | Bezeichnung | |
| 1 | TR112-0885 | SHAFT-BLADE SPINDLE STAR 6.95 | |
| 2 | TR112-0330 | NUT-LOCK, FLANGE | |
| 3 | TR112-0389 | SPACER | |
| 4 | TR112-0505 | PULLEY-DECK | |
| 5 | TR112-0377 | BEARING-BALL | |
| 6 | TR112-0926 | FITTING-GREASE | |
| 7 | TR119-9110 | SPACER | |



