Toro 13AP62RP544 (SL500) - SL500 Super Lawn Tractor, 2007 (1B157H20701-) FUEL SYSTEM ASSEMBLY KOHLER SV720-0011 Ersatzteile
FUEL SYSTEM ASSEMBLY KOHLER SV720-0011 13AP62RP544 (SL500) - Toro SL500 Super Lawn Tractor, 2007 (1B157H20701-)

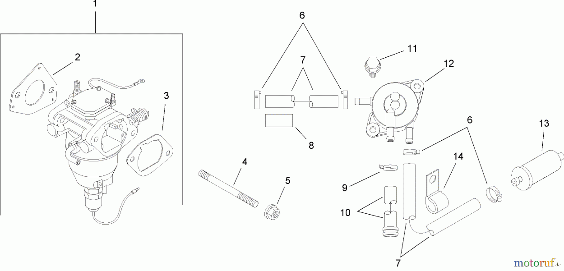
Hier finden Sie die Ersatzteilzeichnung für Toro Neu Mowers, Lawn & Garden Tractor Seite 1 13AP62RP544 (SL500) - Toro SL500 Super Lawn Tractor, 2007 (1B157H20701-) FUEL SYSTEM ASSEMBLY KOHLER SV720-0011. Wählen Sie das benötigte Ersatzteil aus der Ersatzteilliste Ihres Toro Gerätes aus und bestellen Sie einfach online. Viele Toro Ersatzteile halten wir ständig in unserem Lager für Sie bereit.



