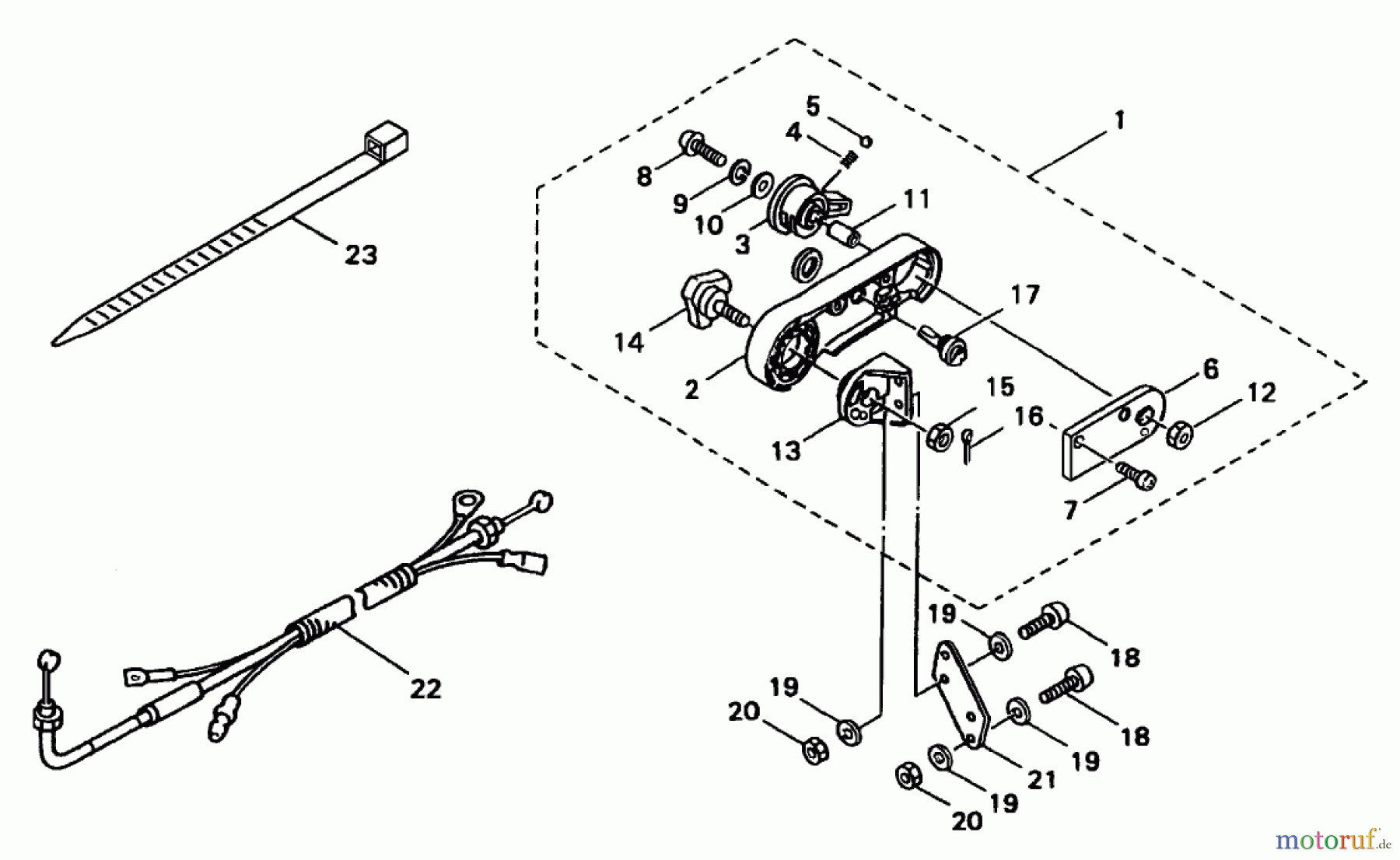
Toro 53047 (BP 6900) - BP 6900 Back Pack Blower, 1998 (8900001-8999999) THROTTLE ASSEMBLY Ersatzteile
THROTTLE ASSEMBLY 53047 (BP 6900) - Toro BP 6900 Back Pack Blower, 1998 (8900001-8999999)

Hier finden Sie die Ersatzteilzeichnung für Toro Neu Blowers/Vacuums/Chippers/Shredders 53047 (BP 6900) - Toro BP 6900 Back Pack Blower, 1998 (8900001-8999999) THROTTLE ASSEMBLY. Wählen Sie das benötigte Ersatzteil aus der Ersatzteilliste Ihres Toro Gerätes aus und bestellen Sie einfach online. Viele Toro Ersatzteile halten wir ständig in unserem Lager für Sie bereit.
| BildNr | Artikel Nummer | Bezeichnung | |
| 1 | TR | ||
| 2 | TRM107126 | ARM | |
| 3 | TRM107127 | LEVER | |
| 4 | TRM107221 | SPRING | |
| 5 | TRM106498 | BALL | |
| 6 | TRM107129 | STAY | |
| 7 | TRM019001 | TAPPING SCREW | |
| 8 | TRM081457 | SCREW | |
| 9 | TRM012502 | SPRING WASHER | |
| 10 | TRM012488 | DISCONTINUED | |
| 11 | TRM107136 | COLLAR | |
| 12 | TRM081031 | NUT | |
| 13 | TRMl15605 | ||
| 14 | TRMl15612 | ||
| 15 | TRM107581 | NYLON NUT | |
| 16 | TRM065842 | COLTER PIN | |
| 17 | TRM117623 | SWITCH | |
| 18 | TRM081456 | SCREW | |
| 19 | TRM013754 | WASHER | |
| 20 | TRMl12509 | ||
| 21 | TRMl17603 | ||
| 22 | TRM119411 | THROTTLE CABLE ASSY | |
| 23 | TRM108954 | BAND | |


