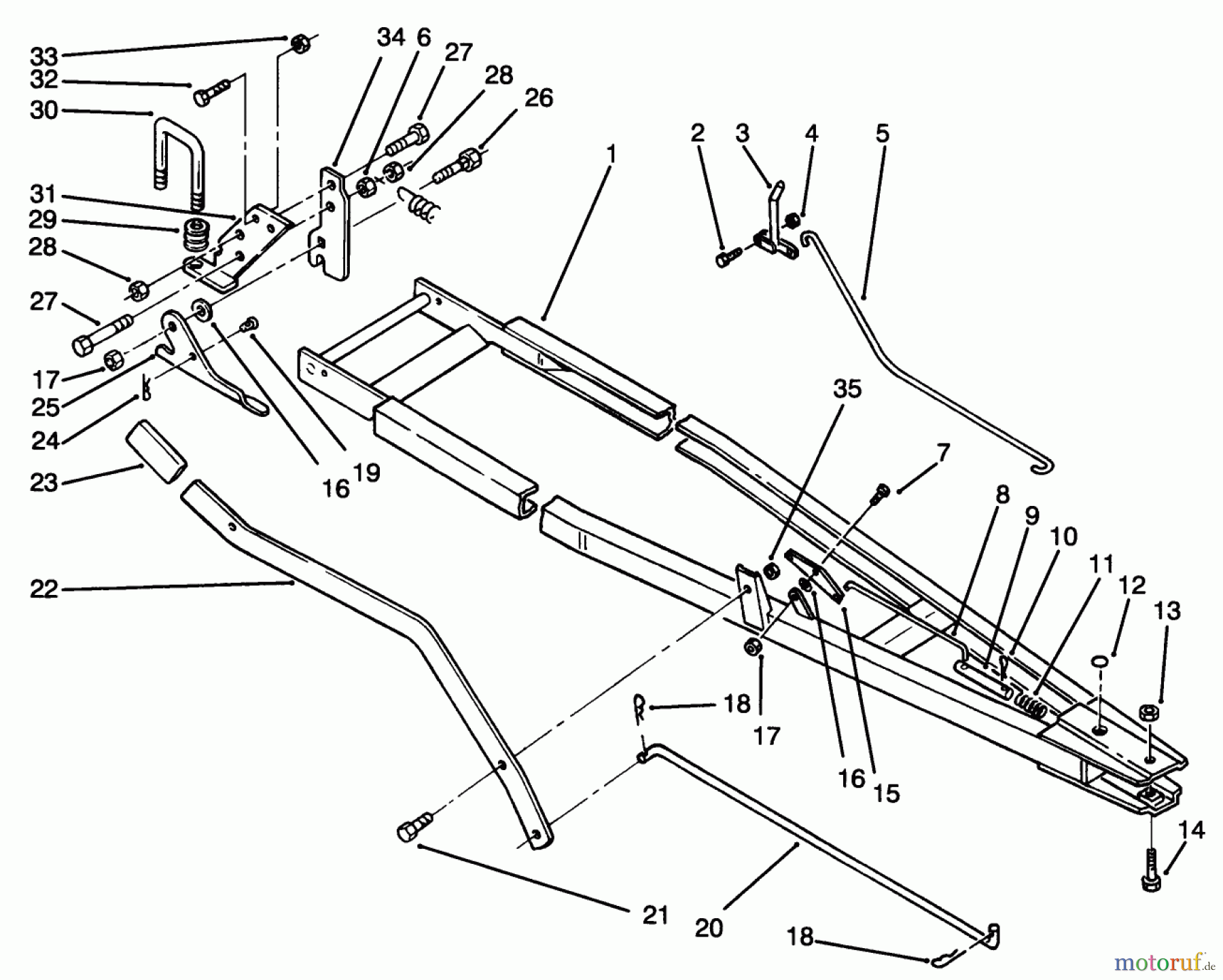
Toro 79251 - 48" Snow Blade, 1993 (39000001-39999999) FRAME ASSEMBLY Ersatzteile
FRAME ASSEMBLY 79251 - Toro 48" Snow Blade, 1993 (39000001-39999999)

Hier finden Sie die Ersatzteilzeichnung für Toro Neu Accessories, Mower 79251 - Toro 48" Snow Blade, 1993 (39000001-39999999) FRAME ASSEMBLY. Wählen Sie das benötigte Ersatzteil aus der Ersatzteilliste Ihres Toro Gerätes aus und bestellen Sie einfach online. Viele Toro Ersatzteile halten wir ständig in unserem Lager für Sie bereit.






