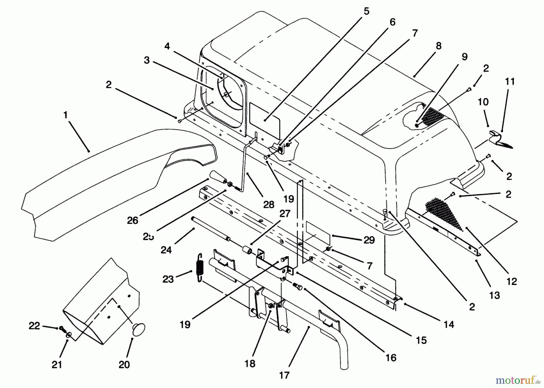
Toro 79102 - 44" Vacuum Bagger, XL Series Lawn Tractors, 1995 (5900001-5999999) HOPPER & CHUTE ASSEMBLY Ersatzteile
HOPPER & CHUTE ASSEMBLY 79102 - Toro 44" Vacuum Bagger, XL Series Lawn Tractors, 1995 (5900001-5999999)

Hier finden Sie die Ersatzteilzeichnung für Toro Neu Accessories, Mower 79102 - Toro 44" Vacuum Bagger, XL Series Lawn Tractors, 1995 (5900001-5999999) HOPPER & CHUTE ASSEMBLY. Wählen Sie das benötigte Ersatzteil aus der Ersatzteilliste Ihres Toro Gerätes aus und bestellen Sie einfach online. Viele Toro Ersatzteile halten wir ständig in unserem Lager für Sie bereit.


Qualitätsmanagement
Informieren Sie uns, wenn Sie einen Fehler gefunden haben.



