Tanaka PB-SM809-HD - 550 Watt Electric PowerBoard Battery, Battery Bag & Circuit Breaker Ersatzteile
Battery, Battery Bag & Circuit Breaker PB-SM809-HD - Tanaka 550 Watt Electric PowerBoard

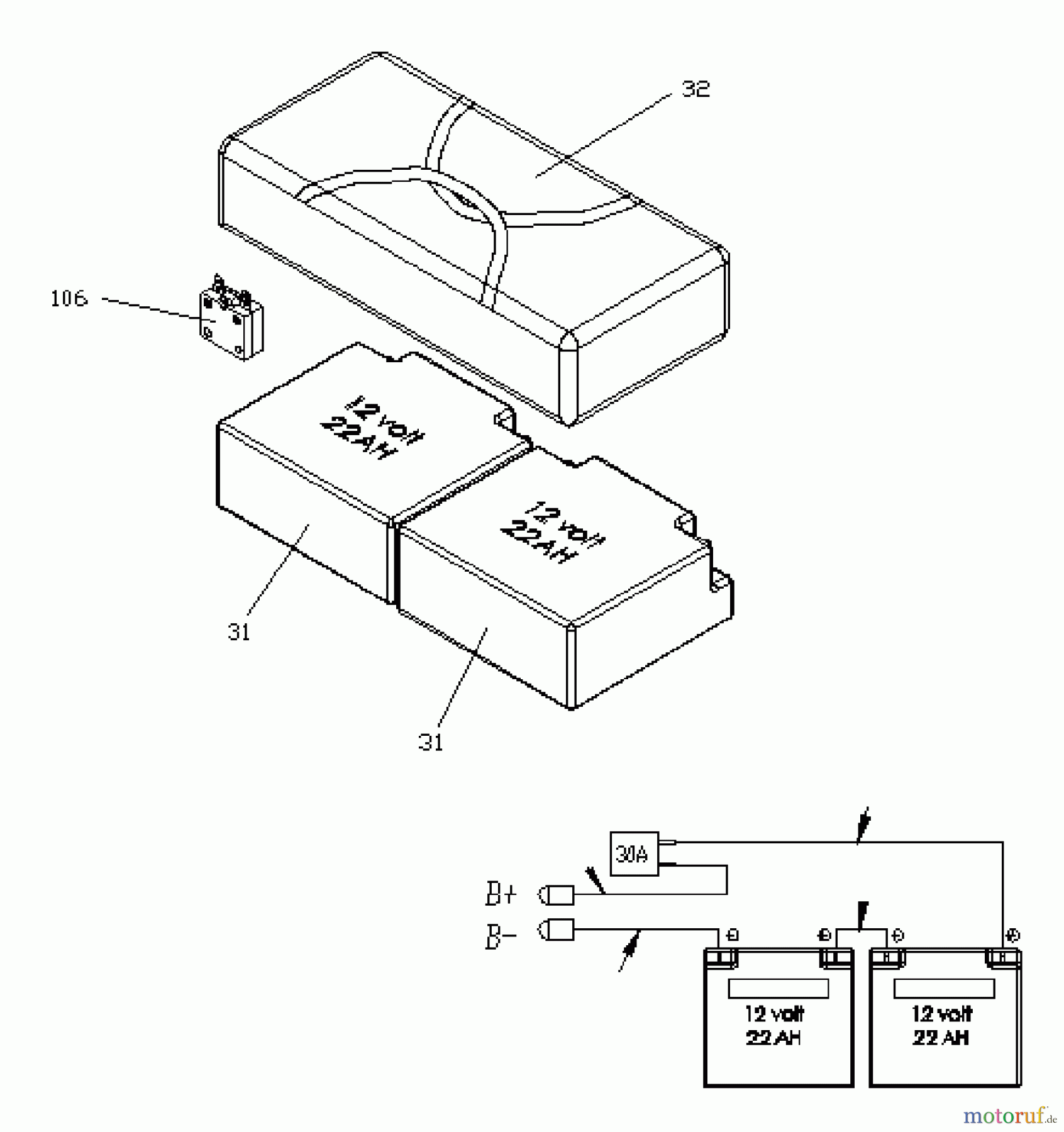
Hier finden Sie die Ersatzteilzeichnung für Tanaka Sonstiges PB-SM809-HD - Tanaka 550 Watt Electric PowerBoard Battery, Battery Bag & Circuit Breaker. Wählen Sie das benötigte Ersatzteil aus der Ersatzteilliste Ihres Tanaka Gerätes aus und bestellen Sie einfach online. Viele Tanaka Ersatzteile halten wir ständig in unserem Lager für Sie bereit.
| BildNr | Artikel Nummer | Bezeichnung | |
| 31 | Tecumseh 31967 | ||
| 32 | Tecumseh 31968 | ||
| 106 | Tecumseh 32040 | ||



