Tanaka HTD-2520PF - Hedge Trimmer Cylinder, Piston, Crankshaft, Ignition Ersatzteile
Cylinder, Piston, Crankshaft, Ignition HTD-2520PF - Tanaka Hedge Trimmer

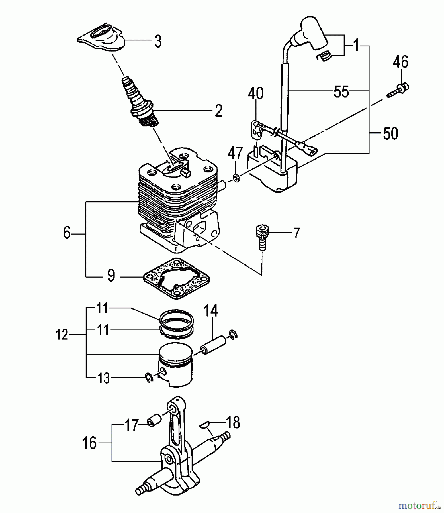
Hier finden Sie die Ersatzteilzeichnung für Tanaka Heckenscheeren HTD-2520PF - Tanaka Hedge Trimmer Cylinder, Piston, Crankshaft, Ignition. Wählen Sie das benötigte Ersatzteil aus der Ersatzteilliste Ihres Tanaka Gerätes aus und bestellen Sie einfach online. Viele Tanaka Ersatzteile halten wir ständig in unserem Lager für Sie bereit.


Qualitätsmanagement
Informieren Sie uns, wenn Sie einen Fehler gefunden haben.

