Snapper 7060431 - Garden Tools Kit Rear Blade Parts Ersatzteile
Rear Blade Parts 7060431 - Snapper Garden Tools Kit

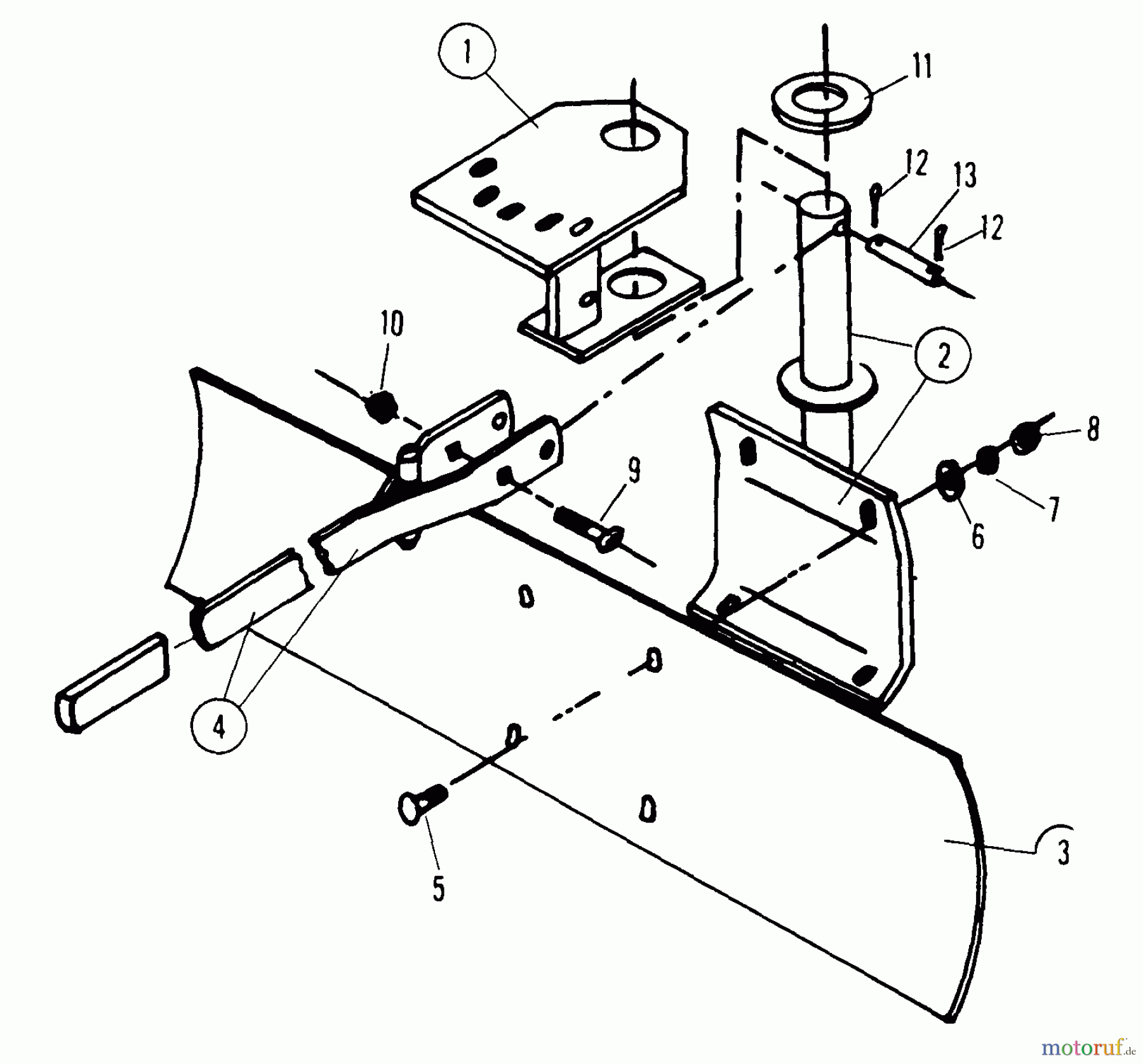
Hier finden Sie die Ersatzteilzeichnung für Snapper Sonstiges 7060431 - Snapper Garden Tools Kit Rear Blade Parts. Wählen Sie das benötigte Ersatzteil aus der Ersatzteilliste Ihres Snapper Gerätes aus und bestellen Sie einfach online. Viele Snapper Ersatzteile halten wir ständig in unserem Lager für Sie bereit.
| BildNr | Artikel Nummer | Bezeichnung | |
| 1 | BS7013626 | ||
| 2 | BS7013627 | ||
| 3 | BS7013629 | ||
| 4 | BS7013623 | ||
| 5 | BS7090645 | ||
| 6 | BS7090517SM | FW, .438X1X.084 YZ | |
| 7 | BS703454 | LOCKWASHER, SPLIT 3/8 | |
| 8 | BS7091302SM | HN, 3/8C GR5 YZ | |
| 9 | BS7092000SM | ||
| 10 | BS7090499YP | HTLN, 3/8C GR.C ZP | |
| 11 | BS7013628 | ||
| 12 | BS7091598SM | COTTER PIN, 1/8X3/4 Y | |
| 13 | BS7013630 | ||



