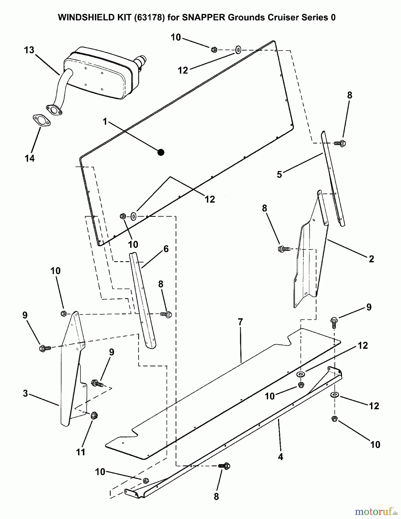
Snapper 7063178 - Utility Vehicle Windshield, Series 0 Grounds Cruiser Windshield Kit w/Muffler Ersatzteile
Grounds Cruiser Windshield Kit w/Muffler 7063178 - Snapper Utility Vehicle Windshield, Series 0

Hier finden Sie die Ersatzteilzeichnung für Snapper Zubehör, Utility Vehicle 7063178 - Snapper Utility Vehicle Windshield, Series 0 Grounds Cruiser Windshield Kit w/Muffler. Wählen Sie das benötigte Ersatzteil aus der Ersatzteilliste Ihres Snapper Gerätes aus und bestellen Sie einfach online. Viele Snapper Ersatzteile halten wir ständig in unserem Lager für Sie bereit.


Qualitätsmanagement
Informieren Sie uns, wenn Sie einen Fehler gefunden haben.


