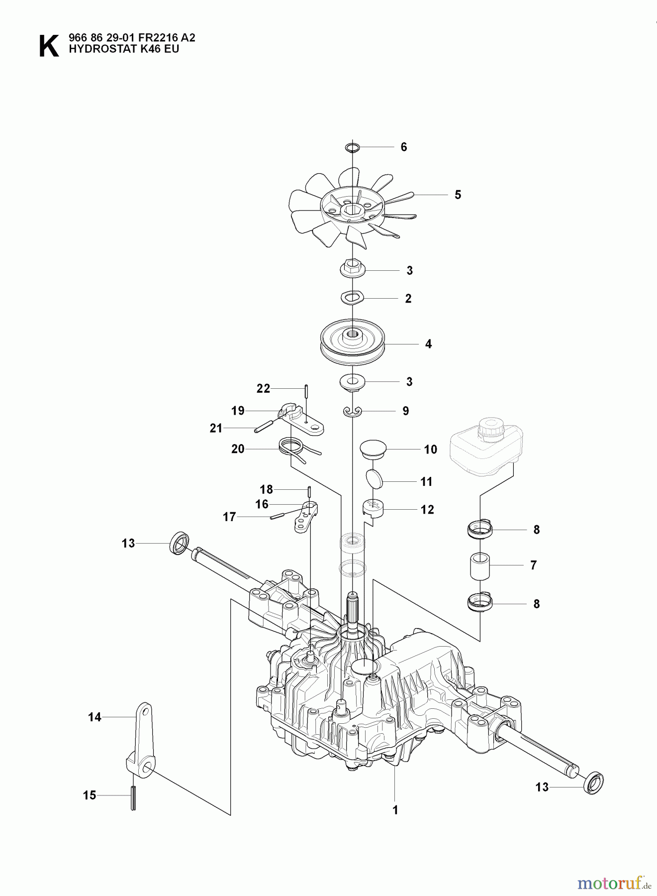
Jonsered FR2216 A2 (966862901) - Rear-Engine Riding Mower (2008-01) GEAR HOUSING Ersatzteile
GEAR HOUSING FR2216 A2 (966862901) - Jonsered Rear-Engine Riding Mower (2008-01)

Hier finden Sie die Ersatzteilzeichnung für Jonsered Reitermäher FR2216 A2 (966862901) - Jonsered Rear-Engine Riding Mower (2008-01) GEAR HOUSING. Wählen Sie das benötigte Ersatzteil aus der Ersatzteilliste Ihres Jonsered Gerätes aus und bestellen Sie einfach online. Viele Jonsered Ersatzteile halten wir ständig in unserem Lager für Sie bereit.


Qualitätsmanagement
Informieren Sie uns, wenn Sie einen Fehler gefunden haben.




