Echo SRM-4300F - String Trimmer/Brush Cutter, S/N: S51220001001 - S51220999999 Cylinder, Piston Ersatzteile
Cylinder, Piston SRM-4300F - Echo String Trimmer/Brush Cutter, S/N: S51220001001 - S51220999999

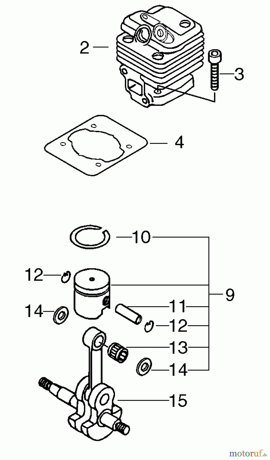
Hier finden Sie die Ersatzteilzeichnung für Echo Trimmer, Faden / Bürste SRM-4300F - Echo String Trimmer/Brush Cutter, S/N: S51220001001 - S51220999999 Cylinder, Piston. Wählen Sie das benötigte Ersatzteil aus der Ersatzteilliste Ihres Echo Gerätes aus und bestellen Sie einfach online. Viele Echo Ersatzteile halten wir ständig in unserem Lager für Sie bereit.



