Echo 99944200600 - 80 Tooth Brushcutter Attachment Grass Trimmer Attachment Ersatzteile
Grass Trimmer Attachment 99944200600 - Echo 80 Tooth Brushcutter Attachment

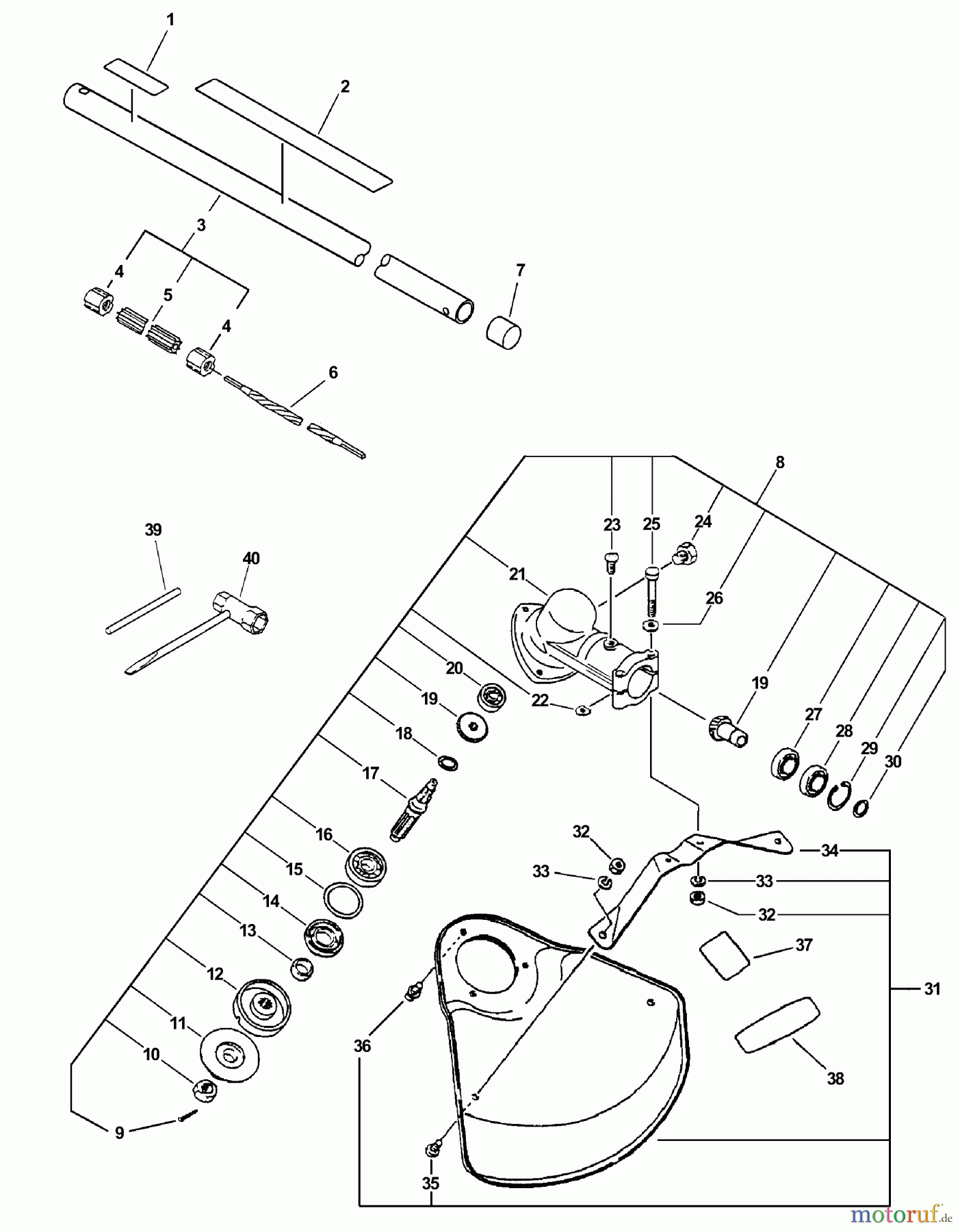
Hier finden Sie die Ersatzteilzeichnung für Echo Trimmer Zubehör 99944200600 - Echo 80 Tooth Brushcutter Attachment Grass Trimmer Attachment. Wählen Sie das benötigte Ersatzteil aus der Ersatzteilliste Ihres Echo Gerätes aus und bestellen Sie einfach online. Viele Echo Ersatzteile halten wir ständig in unserem Lager für Sie bereit.


Qualitätsmanagement
Informieren Sie uns, wenn Sie einen Fehler gefunden haben.

