Zurück zu
>
Mäher
>
Elektro
>
Schiebe bis 38 cm
>
2er
>
2.32 E ( 2005 / 4912780-C )
>
Motor, Messer (4912780c-2005-5)
Ersatzteillisten für Wolf Mäher Motor, Messer (4912780c-2005-5)
Pos.
Bezeichnung
Ersatzteilnummer
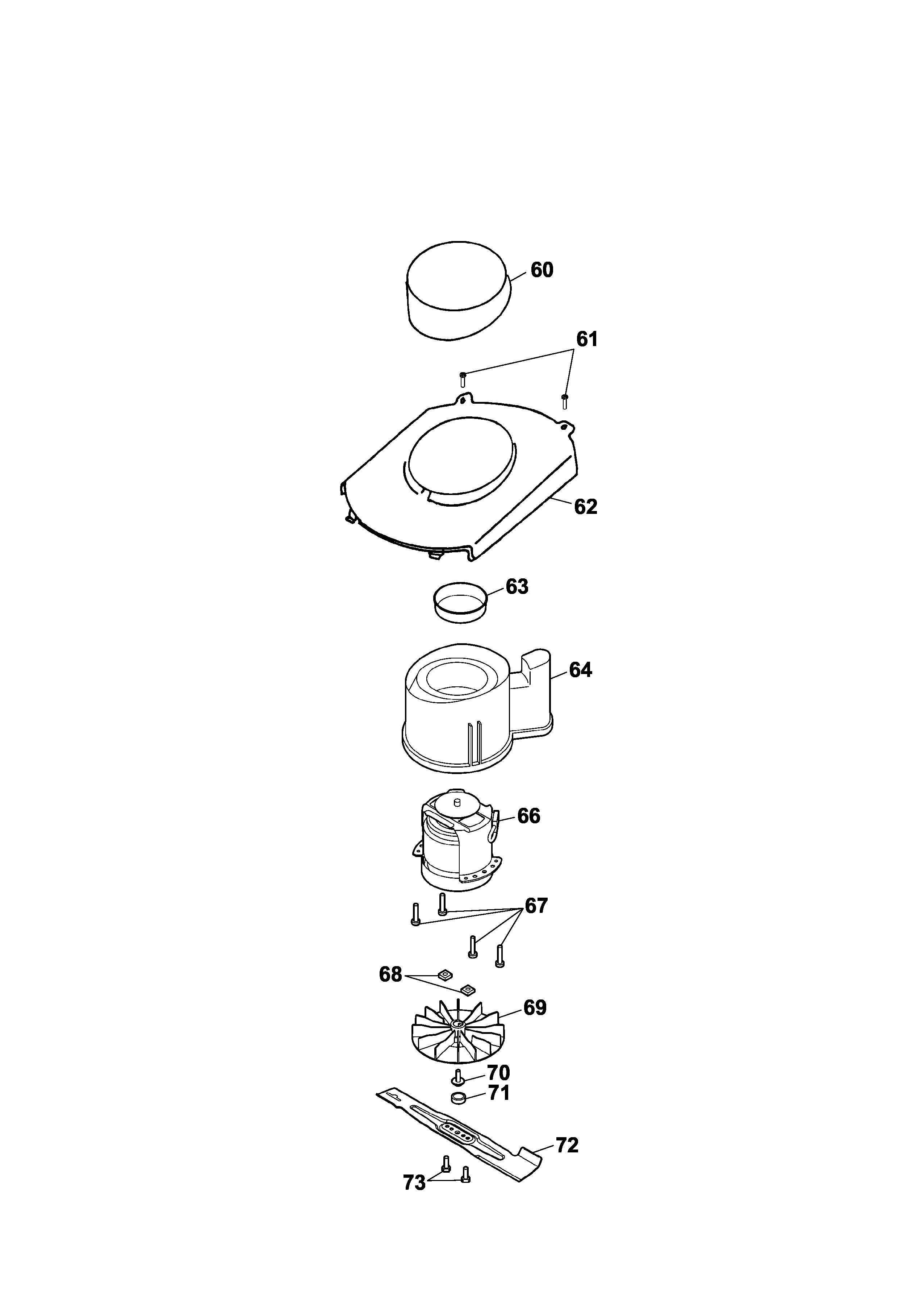
60
Motorabdeckung
4936 305
61
PT-Schraube
0012 625
62
Chassisabdeckung
4912 302
64
Luftführung
4932 308
63
Rohrstück
4317 305
66
Motor
1104 065
65
Kondensator, 16µF
1117 030
67
Schraube
0012 610
66
Motor
1104 065
68
4 kt.-Mutter ()
0016 405
67
Schraube
0012 610
69
Lüfter kpl.
4936 027
68
4 kt.-Mutter ()
0016 405
69
Lüfter kpl.
4936 027
70
6kt.-Schraube M 6x20
0010 680
71
Stopfen
4936 308
70
6kt.-Schraube M 6x20
0010 680
72
Messer
4932 090
71
Stopfen
4936 308
72
Messer
4932 090
73
Schraube M 6x16
0010 366
73
Schraube M 6x16
0010 366
Gebrauchsanweisungen
Wolf
Handgeräte
Heckenscheren
Universalscheren
Handgrasscheren
Astscheren
Baumscheren
Baumpflege
Beleuchtungssysteme
Accuscheren
Häcksler
Sägen
Trimmer
Spindelmäher
Streuwagen / Portax
Schlauchwagen
Vertikutierer / Lüfter / Aerifizierer
Mäher
Accu
Benzin
Elektro
Schiebe bis 38 cm
2er
2.132 E ( 1996 / 4901000-A )
2.36 E ( 1996 / 4906000-C )
2.36 E ( 1996 / 4906003-C )
2.32 E ( 1996 / 4912080-B )
2.32 E ( 1996 / 4912083-B )
2.36 E ( 2000 / 4906880-A )
2.36 E ( 2000 / 4906883-A )
2.32 E ( 2000 / 4912880-A )
2.32 E ( 2000 / 4912883-A )
2.32 EP ( 2002 / 4912080-C - F )
2.38 E ( 2002 / 4961080-A )
2.36 EK ( 2003 / 4906684-A )
2.32 E ( 2003 / 4912684-A )
2.36 E ( 2004 / 4906780-A )
2.36 E ( 2004 / 4906783-A )
2.38 E ( 2004 / 4961080-B )
2.34 CPK ( 2005 / 4904005-A )
2.36 EK ( 2005 / 4906684-B )
2.36 E ( 2005 / 4906780-B, C )
2.36 E ( 2005 / 4906783-B, C )
2.36 E ( 2005 / 4906785-A )
2.36 XC ( 2005 / 4906786-A )
2.32 E ( 2005 / 4912780-A )
2.32 E ( 2005 / 4912780-B )
2.32 E ( 2005 / 4912780-C )
Datenblatt (4912780c-2005-1)
Chassis (4912780c-2005-2)
Achse, Räder, Höhenverstellung (4912780c-2005-3)
Griff, Schalter (4912780c-2005-4)
Motor, Messer (4912780c-2005-5)
2.38 E ( 2005 / 4961080-C )
2.38 E ( 2005 / 4961080-D )
2.32 E-1 ( 2006 / 4905000-A )
2.32 E-1 ( 2006 / 4905003-A )
4er
6er
Picco
Premio
Power Edition
Esprit
Compact Plus
Sonstige
Schiebe ab 40 cm
Antrieb
Aufsitzmäher
Benzinmotoren
Zubehör
Impressum
(C) by motoruf