Zurück zu
motoruf
Warenkorb

Ersatzteillisten für Wolf Mäher Abdeckhaube, Motor, Messer (4906783a-2004-5)




Ersatzteilliste


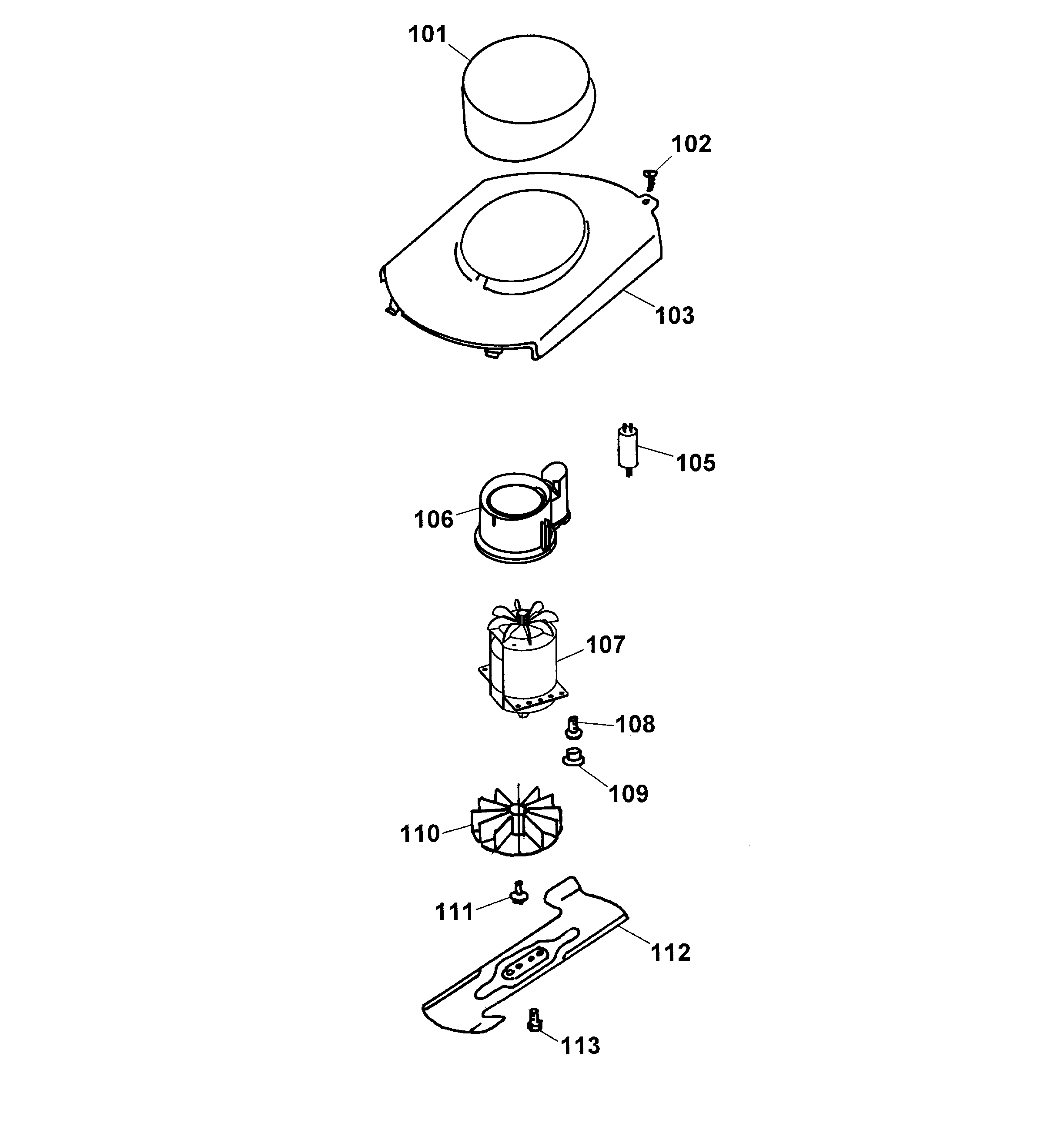
Pos.BezeichnungErsatzteilnummer
101Motorabdeckung4936 305
102PT-Schraube0012 625
103Chassisabdeckung4906 302
105Kondensator, 16µF1117 030
106Luftführung4932 308
107Motor kpl. mit Kondensator1141 010
108Schraube0012 952
109Stopfen4936 308
110Lüfter kpl.4936 027
1116kt.-Schraube M 6x200010 680
112Messer4936 090
113Schraube M 6x160010 366
Gebrauchsanweisungen
Wolf
Impressum
(C) by motoruf