Zurück zu
>
Roth / TORO
>
Handgeräte
>
Schneefräsen
>
zweistufig
>
1028 PowerShift
>
635/38559
>
210000001
>
Vergaser Nr. 640169
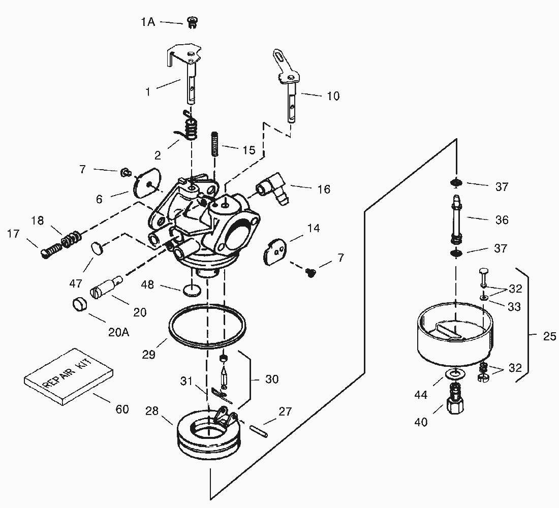
Ersatzteillisten für Toro Roth / TORO Vergaser Nr. 640169
Pos.
Bezeichnung
Ersatzteilnummer
Float Bowl Asm.
632594A
Pos.
Bezeichnung
Ersatzteilnummer
1
Throttle Shaft & Lever Assy
632777
1
Buechse
36288
2
Schenkelfeder
631970
6
Drosselklappe
640109
7
Schraube
650506
10
Shaft/Lever-Choke Asm.
632778
14
Choke Shutter
632189
15
Druckfeder
630735
16
Fuel Fitting
632527
17
Schraube s
651025
18
Feder
630766
20
Duese
640027
20
Duesenkappe s
640053
27
Haltestift
631024
28
Schwimmer
632019
29
Dichtring
631028
30
Schwimmerventil
631021
31
Klemmfeder
631022
32
Drain Plunger Assembly (Incl. Ref.
27136A
33
Dichtung
27554
36
Duesenstock
640013
37
O-Ring s
632547
40
Schraube
640170
44
Washer-Bowl Nut
27110A
47
Plug, Welch
630748
48
Stopfen
631027
60
Vergaser-Reparatursatz
632760
Gebrauchsanweisungen
Toro
Roth / TORO
Aufsitzmäher
Handgeräte
Kehrmaschinen
Schneefräsen
Zubehör
zweistufig
1332 PowerShift
1232 PowerShift
1132 PowerShift
1132
1028 PowerShift
635/38559
220000001
210000001
Starter Nr. 590749
Starter Nr. 590733 (wahlw.)
Elektrostarter Nr. 33329E (wahlw. bei: 38559)
Vergaser Nr. 640169
Motor Tecumseh OHSK100-221607B (nur bei: 38559)
Motor Tecumseh OHSK100-221607B (nur bei: 38559)
Motor Tecumseh OHSK100-221606B (nur bei: 38560)
Motor Tecumseh OHSK100-221606B (nur bei: 38560)
unterer Antrieb (Fortsetzung)
unterer Antrieb
Scheinwerfer Nr. 54-9871 (nur bei: 38559)
Holm &Betätigung (Fortsetzung)
Holm & Betätigung
Power Shift Betätigung (Fortsetzung)
Power Shift Betätigung
Antrieb Getriebegehäuse Nr. 66-8030 (Fortsetzung)
Antrieb Getriebegehäuse Nr. 66-8030
Motor & Getriebe
Getriebegehäuse Nr. 74-1561
Gehäuse & Motor Rahmen (Fortsetzung)
Gehäuse & Motor Rahmen
200000001
99000001
635/38555
924 PowerShift
828 PowerShift
824 PowerShift
824 XL
824
724
624 PowerShift
622
521
3521
einstufig
Sauger/Bläser
Rasenmäher
Robin
Impressum
(C) by motoruf