Zurück zu
>
Roth / TORO
>
Handgeräte
>
Rasenmäher
>
4-Takt Radantrieb
>
416/20826
>
200000001
>
Motor B&S (Modell 123602-0152-E1)
Ersatzteillisten für Toro Roth / TORO Motor B&S (Modell 123602-0152-E1)
Ersatzteilliste 1
Ersatzteilliste 2
Ersatzteilliste 3
Ersatzteilliste 4
Ersatzteilliste 5
Ersatzteilliste 6
Ersatzteilliste 7
Ersatzteilliste 8
Ersatzteilliste 9
Ersatzteilliste 10
Pos.
Bezeichnung
Ersatzteilnummer
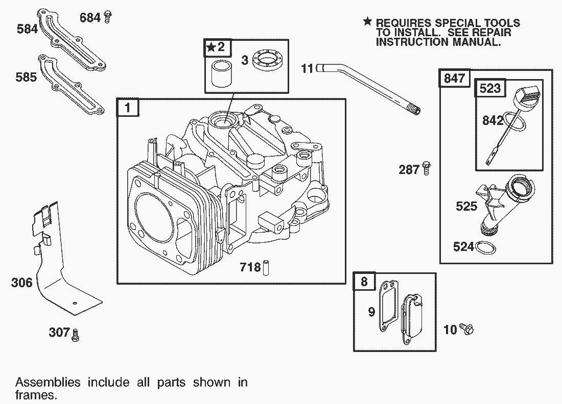
1
Zylinder
99-0900
2
Bushing
99-0911
3
Seal-Oil
77-9060
8
Entlueftungsventil
77-9260
9
Dichtung
99-0913
10
Schraube
99-0914
11
Entlueftungsschlauch
99-0915
523
Dipstick
100-9146
306
Reglerhebel
99-0917
842
O-Ring
77-7270
524
O.Ring
77-7300
307
Schraube
99-0920
585
Dichtung
77-7410
525
Rohr F. Oelmesstab
99-0906
718
Dowel-Sleeve
77-7600
584
Baffle-Cylinder
99-0922
847
Rohr F. Oelmessstab
98-9209
684
Schraube
99-0920
287
Schraube
99-0927
Pos.
Bezeichnung
Ersatzteilnummer
5
Zylinderkopf
99-0929
7
Zylinderkopfdichtung
99-0930
13
Schraube
99-0931
33
Auslassventil
99-0932
34
Einlassventil
99-0933
35
Ventilfeder
99-0934
40
Ventilteller
99-0935
45
Ventilstoessel
99-0936
155
Kopfplatte
99-0938
189
Ball-Rocker Arm
99-0939
238
Ventilkappe
99-0940
914
Screw-Rocker Cover
100-9147
337
Zuendkerze
77-7330
383
Wrench-Spark Plug
99-0944
635
Zuenkerzenkappe
77-9190
830
Stehbolzen
99-0945
619
Schraube
99-0941
868
Dichtring
99-0946
883
Auspuffdichtung
99-0947
36
Ventilfeder
99-0934
1022
Gasket-Rocker Cover
99-0907
1023
Ventildeckel
98-9211
1026
Stoesselstange
99-0949
1029
Arm-Rocker
99-0950
1034
Guide-Push Rod
99-0951
993
DICHTUNG
99-6264
51
Dichtung
99-0968
122
Dichtung
99-0978
Pos.
Bezeichnung
Ersatzteilnummer
4
Oelwanne
99-0952
12
Oelwannendichtung
99-0953
15
Oelablasstopfen
99-0954
16
Crankshaft
98-9214
24
Keil
77-8340
20
Seal-Oil
99-0955
22
Schwungradkeil
99-0957
25
Kolben
99-0958
26
Kolbenringsatz
99-0959
27
Bolzensicherung
99-0960
28
Pin-Piston (Standard)
99-0961
29
Pleuel
99-0962
32
Screw-Connecting Rod
99-0963
43
Reglerzahnrad
99-0964
46
Nockenwelle
99-0965
146
Keil
99-0966
741
Zahnrad
99-0967
Pos.
Bezeichnung
Ersatzteilnummer
95
Schraube
99-0969
104
Schwimmerstift
99-0970
117
Jet-Main (Std.) Note: 99-1041 Jet-Main(High Altitude) 1
99-0971
708
Seal-Dust
100-5037
125
Carburetor
99-0973
130
Drosselklappe
99-0974
131
Drosselachse
99-0975
276
Washer-Sealing
100-5038
134
Valve-Float (Includes Seat)
77-8110
163
Gasket-Air Cleaner
99-0976
975
Schwimmerkappe
99-0977
133
Schwimmer
77-8170
365
Schraube
99-0972
127
Zuendkerzenschluessel
100-9107
137
Gasket-Float Bowl
104-7550
Pos.
Bezeichnung
Ersatzteilnummer
222
Vergaser Kontrollplatte
100-2891
910
Stud-Stator Mounting
99-1014
202
Reglergestaenge
99-0981
188
Schraube
100-5031
745
Schraube
99-0983
474
Ladespule
99-1011
356
Kurzschlusskabel
99-1007
334
Schraube
99-1006
935
Switch-Interlock
100-9109
851
Terminal-Spark Plug
77-9450
333
Zuendspule
99-1005
922
Bremsfeder
99-0987
923
Brake Assembly
99-0988
621
Switch-Stop
99-0986
1160
Schraube
77-9520
227
Reglerhebel
99-0917
404
Scheibe
99-0918
562
Screw-Hex.
99-0921
505
Nut-Hex.
99-0924
615
Sicherungsscheibe
99-0925
616
Reglerachse
99-0926
209
Reglerfeder
99-0982
1119
Schraube
104-7551
Pos.
Bezeichnung
Ersatzteilnummer
467
Knob-Air Cleaner
100-9108
677
Schraube
100-9148
836
Schraube
94-1674
968
Luftfilterdeckel
98-9207
445
Filterpatrone
98-9212
966
Ansaugstutzen
99-0979
613
Schraube
99-1047
836
Schraube
99-0999
300
Auspuff
99-0995
259
Kabeltuelle
99-0984
967
Vorfilter
99-0989
676
Deflektor
99-1044
832
Auspuffschutz
98-9206
613
Schraube
99-0941
443
Schraube
99-0990
976
Primer
99-0991
Pos.
Bezeichnung
Ersatzteilnummer
23
Schwungrad
99-1001
332
Mutter
94-1673
65
Schraube
99-1002
304
Luefterblech
99-1003
930
Luefterhaube
98-9203
1036
Label Kit-Emission
99-1016
1005
Luefterrad
99-1015
326
Schraube
98-9204
363
Puller-Flywheel
99-1008
592
Nut-Hex.
99-1009
455
Starterglocke
99-1010
305
Schraube
99-0941
37
Schwungradabdeckung
99-0905
78
Schraube
99-0941
Pos.
Bezeichnung
Ersatzteilnummer
55
Startergehaeuse
99-1048
58
Rope-Starter (Cut To Suit)
94-1668
592
Mutter
100-9149
60
Startergriff
77-8510
1210
Seilscheibe Mit Feder
94-1657
1211
Seilscheibe Mit Feder
94-1657
456
Deckel
94-1659
459
Starterklinke
94-1654
597
Screw-Rewind Starter
94-1660
689
Spring-Torsion
94-1655
608
Ruecklaufstarter
98-9215
Pos.
Bezeichnung
Ersatzteilnummer
3
Seal-Oil
99-0912
1095
Valve Overhaul Gasket Set
100-5033
977
Vergaser-Dichtungssatz
100-5034
358
Engine Overhaul Gasket Set
100-5035
121
Vergaser-Reparatur-Satz
100-5036
585
Sicherungsscheibe
99-0925
993
Gasket-Plate
99-0948
Pos.
Bezeichnung
Ersatzteilnummer
601
Clamp-Fuel Hose
78-4690
674
Schraube
98-9202
182
Bracket-Tank Mounting
98-9205
187
Benzinschlauch
99-0992
1059
Schraube
99-0993
190
Schraube
99-0994
670
Spacer-Fuel Tank
99-0997
972
Benzintank
99-1000
Gebrauchsanweisungen
Toro
Roth / TORO
Aufsitzmäher
Handgeräte
Kehrmaschinen
Schneefräsen
Sauger/Bläser
Rasenmäher
Grasfangvorrichtungen
4-Takt Radantrieb
498/26638
498/26633
498/26633 B
498/26631 B
496/26639
496/26636
496/26636 B
496/26635 BC
496/26625 BG
495/26637
495/26632
495/26632 B
495/26630 BC
495/26630 BG
495/26620 BG
494/20784
494/20791
493/20783
493/20789
492/20787
492/20778
491/20786
491/20777
491/20328 B
490/20327 B
489/20927 B
489/20926 B
489/20925
488/20920
487/20914
487/20909 BC
487/20905
479
477
469
465/20781
465/20779
464
459/20824
459/20821
459/20821 B
459/20820 BC
458/20823
458/20822
457
456/20808
456/20808 B
456/20807 BC
456/20806 B
455/20803
455/20803 B
455/20802 BC
455/20801 B
453
449
439
437/22173
437/22157
437/22154
437/22154 B
437/22153 BC
434
424
421/20652
417/20832
417/20829
417/20827
416/20831
416/20828
416/20826
200000001
Motor B&S (Modell 123602-0152-E1)
Getriebegehäuse Nr. 99-6466
Antrieb
Heckfangsystem
Holm (Antrieb)
Höhenverstellung und Rad
Motor und Messer
Gehäuse, Kicker & Recycler Stopfen
415/20817
415/20811
4-Takt
2-Takt Radantrieb
2-Takt
Elektro
Akku
Robin
Impressum
(C) by motoruf