Zurück zu
>
Roth / TORO
>
Handgeräte
>
Rasenmäher
>
2-Takt Radantrieb
>
239
>
320000
>
Getriebe
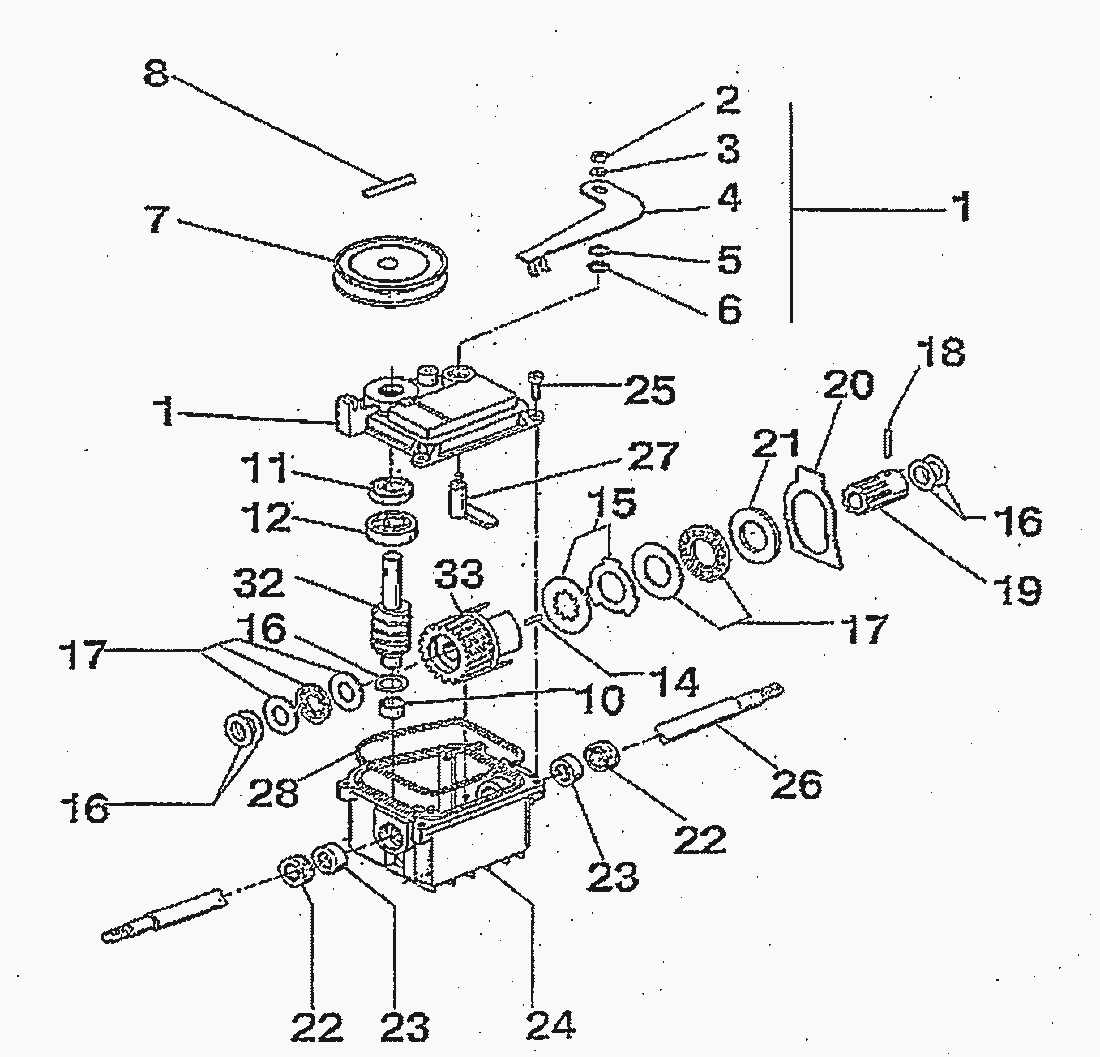
Ersatzteillisten für Toro Roth / TORO Getriebe
Pos.
Bezeichnung
Ersatzteilnummer
1
GETRIEBEDECKEL
18128
2
MUTTER
13041
3
SCHEIBE
13043
4
HEBEL
18129
5
SCHEIBE (ALU)
18130
6
O-RING
18131
7
Riemenscheibe
19351
8
SPANNSTIFT
18209
10
LAGERBUCHSE
18134
11
WELLENDICHTRING
18135
12
LAGER
18136
14
SPANNHUELSE
18138
15
KUPPLUNGSSCHEIBEN-SATZ
18139
16
SGLEICHSSCHEIBEN-SATZ
18140
17
AXIALLAGER-SATZ KOMPL.
18141
18
SPANNHUELSE
07211
19
MITNEHMER
18142
20
KUPPLUNGSSCHALTGABEL
18143
21
SCHEIBE
18144
22
WELLENDICHTRING
18145
23
NADELLAGER
18146
24
GETRIEBEGEHAEUSE
18147
25
LINSENSCHRAUBE
07673
26
ANTRIEBSWELLE
18668
27
HEBEL
18150
28
DECKELDICHTUNG
18151
32
SCHNECKE
18376
33
SCHNECKENRAD KOMPL.
18670
Gebrauchsanweisungen
Toro
Roth / TORO
Aufsitzmäher
Handgeräte
Kehrmaschinen
Schneefräsen
Sauger/Bläser
Rasenmäher
Grasfangvorrichtungen
4-Takt Radantrieb
4-Takt
2-Takt Radantrieb
295/26643
295/26643 B
295/26640 BC
295/26640 B
287/20916B
277
255/22700 BC
255/22700
239
330000
320000
Vergaser komplett
Schwungrad & Zündung komplett
Rücklaufstarter komplett
Motorregler komplett 47PS 5-7
Teilemotor komplett 47PS 5-6
Auspuff komplett
Motorstopp komplett 47PS 5-6
Motor komplett
Motor
Fangkorb
Schaltbügel
Führungsholm
Getriebe
Antrieb
Messergruppe
Mäher
237/22045
237/22045 B
237/22044 BC
237/22036
237/22035
234
224
222/16212 WG
2-Takt
Elektro
Akku
Robin
Impressum
(C) by motoruf