Zurück zu
AS-Motor
>
Samix Gartenhäcksler
>
Rapido S-E 2.4/2.5
>
ab FNr. 118711000
Ersatzteillisten für AS Motor Samix Gartenhäcksler ab FNr. 118711000
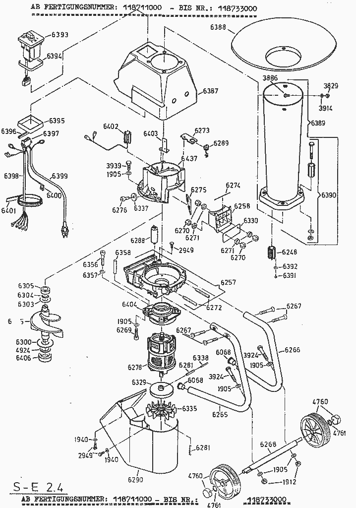
Pos.
Bezeichnung
Ersatzteilnummer
1905
SCHEIBE
E01905
1912
SECHSKANTMUTTER
E01912
1940
SCHEIBE
E01940
2949
SECHSKANTSCHRAUBE
E02949
3829
SECHSKANTMUTTER
E03829
3886
SECHSKANTSCHRAUBE
E03886
3914
SCHEIBE
E03914
3924
6-kt.Schraube
E03924
3939
SECHSKANTSCHRAUBE
E03939
4760
LAUFRAD
E04760
4761
WELLENSICHERUNG
E04761
4924
PASSSCHEIBE
E04924
6068
LAMELLENSTOPFEN
E06068
6248
MAGNETHALTER VOLLST.
E06248
6257
AUSWURFGEHÄUSE VOLLST.
E06257
6258
STELLBACKEN
E06258
6265
STANDBEIN LINKS
E06265
6266
STANDBEIN RECHTS
E06266
6267
SENKSCHRAUBE
E06267
6268
ACHSTRÄGER VOLLST.
E06268
6269
ZYLINDERSCHRAUBE
E06269
6270
SECHSKANTMUTTER
E06270
6271
KEGELPFANNE
E06271
6272
GEWINDESTIFT
E06272
6273
ZUGENTLASTUNGSHALTER
E06273
6274
FEDERSTAB
E06274
6275
GEGENHALTER
E06275
6276
Zylinderschraube
E06276
6278
MOTOR+GETRIEBE+SCHALTPLAN S-E 2.4+2.4/2
E06278
6281
SPANNSTIFT
E06281
6288
KONDENSATOR
E06288
6289
ZUGENTLASTUNG
E06289
6290
NICHT MEHR LIEFERBAR. KEIN ERSATZ
6290
6300
DECKSCHEIBE
E06300
6303
DECKSCHEIBE
E06303
6304
Paßscheibe
E06304
6305
RILLENKUGELLAGER
E06305
6329
SCHWUNGSCHEIBE
E06329
6330
SCHUTZBLECH
E06330
6335
VENTILATOR
E06335
6337
SCHEIBE
E06337
6338
SPANNSTIFT
E06338
6356
ZYL.SCHR.M.INNENSECHSKANT
E06356
6357
FEDERRING
E06357
6358
ZYLINDERSTIFT
E06358
6387
VERKLEIDUNG
E06387
6388
TRICHTER RAPIDO
E06388
6389
ZUFÜHRROHR VOLLST.
E06389
6390
STERNGRIFF VOLLST.
E06390
6391
PLASTITE-SCHRAUBE
E06391
6392
SCHEIBE
E06392
6393
SCHALTER KOMPL.
E06393
6394
MOOSGUMMIPROFIL
E06394
6395
SCHALTERARRETIERUNG
E06395
6396
DICHTUNGSPROFIL 60 MM LG.
E06396
6397
FLACHSTECKERGEHÄUSE
E06397
6398
MOTORKABEL
E06398
6399
NETZKABEL
E06399
6400
KONDENSATORKABEL
E06400
6401
KABELBAND
E06401
6402
NICHT MEHR LIEFERBAR. KEIN ERSATZ
6402
6403
NICHT MEHR LIEFERBAR. KEIN ERSATZ
6403
6404
NICHT MEHR LIEFERBAR. KEIN ERSATZ
6404
6405
MESSERWENDEL KOMPL.
E06405
6406
RILLENKUGELLAGER
E06406
6437
NICHT MEHR LIEFERBAR. KEIN ERSATZ
E06437
Gebrauchsanweisungen
AS Motor
AS Batterierasenmäher
AS 45 Ausputzmäher
AS 46 Variomat
AS 45 Universal
AS 53 Standard
AS 53 Allrad
AS 55 Heckauswurf
AS 550 Heckauswurf
AS Allmäher
AS Enduro
AS Schlegelmäher
AS Mulchmeister
AS Aufsitzmäher
Samix Gartenhäcksler
Junior S-E 1.9
Junior S-E 2.0/2.6
Junior S-E 2.0/2 + S-E 2.6/2
Rapido S-E 2.4/2.5
ab FNr. 118733001
ab FNr. 118711000
ab FNr. 118644444
Rapido S-E2.4/2+S-E2.5/2
Rapido S-B/4T
Rapido S-B4T/2
Super S-E3/E4/B6
Super S-E 3/2
Super S-E 3.7/2
Super SB 7/SE4.7
Super S-B7/2 + S-E4.7/2
AS Wildkraut-Hex
Verschleissteile
Impressum
(C) by motoruf