Zurück zu
>
Mäher
>
Elektro
>
Schiebe ab 40 cm
>
Concept
>
Concept 43 E ( 2000 / 4317000-A )
>
Chassis und Anbauteile (4317000a-2000-2)
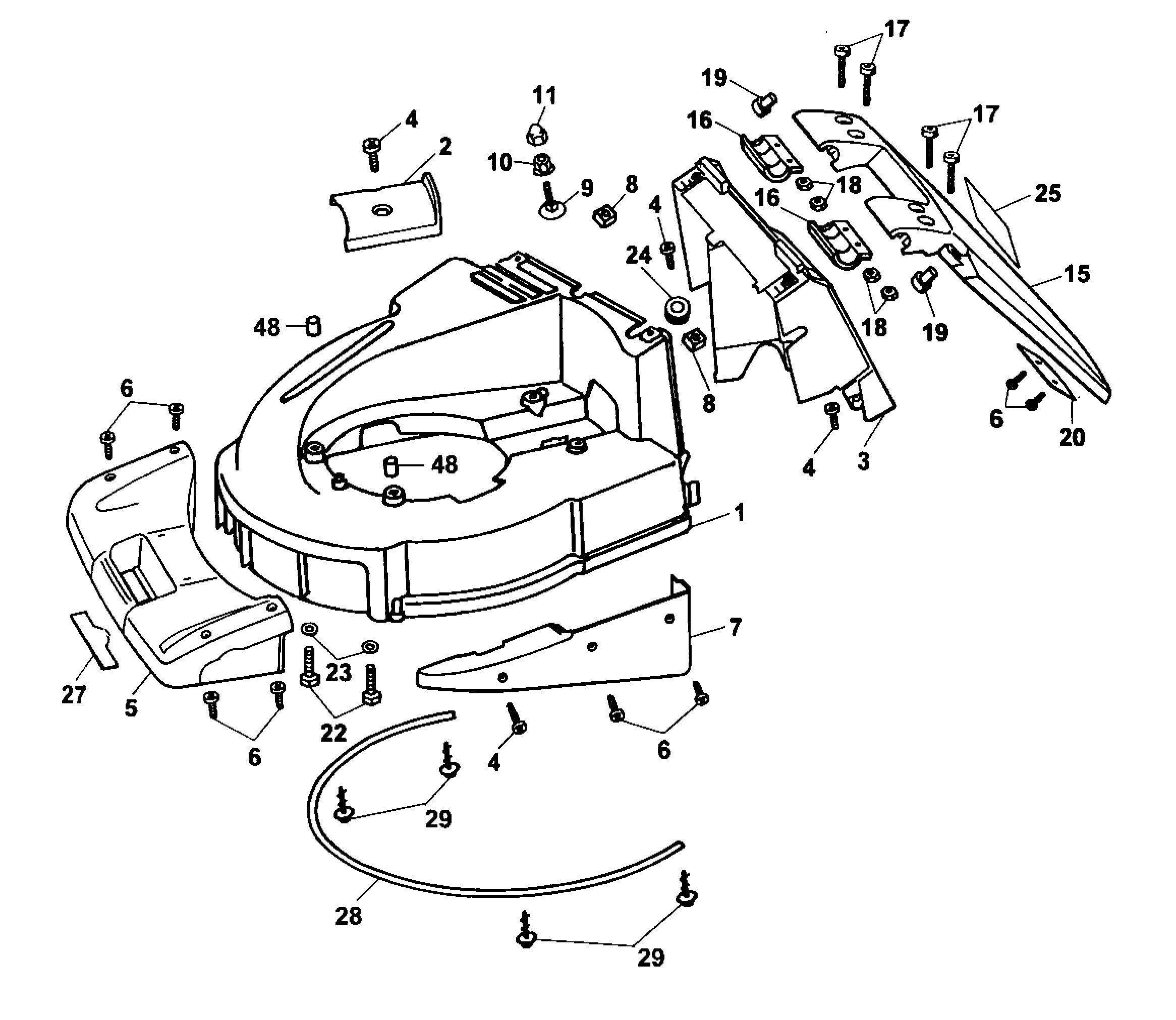
Ersatzteillisten für Wolf Mäher Chassis und Anbauteile (4317000a-2000-2)
Pos.
Bezeichnung
Ersatzteilnummer
1
Chassis PP
4350 320
2
Keilriemenabdeckung
6450 307
3
Heckteil
6450 340
4
SF-Schraube M5x20
0012 607
5
Frontverkleidung
6450 302
6
SF-Schraube M 5x12
0012 605
7
Seitenteil, links
6450 304
8
4 kt.-Mutter ()
0016 405
9
Flachrundschraube DIN 603 M8x16
0013 650
10
Mutter
0016 385
11
Verschlußkappe M 8
6340 126
15
Heckklappe kpl. m. Pos. 6,19,20,25
6450 911
16
Schelle
6450 311
17
Sternantrieb-Schraube M 5x40
0012 825
18
Sechskantmutter DIN 934 M5-5
0016 210
19
Gummipuffer
6450 316
20
Gegengewicht
6450 149
22
6-kt.-Schraube M8x30 DIN 933
0010 399
23
Scheibe
0017 291
24
Gummitülle
6450 314
25
Sicherheitsetikett/Pictogramm
0051 225
27
WOLF-Garten Marke
0051 115
28
Stabilisator
4342 100
29
Sternantrieb-Schraube
0012 636
48
Arretierhülse
4342 102
Gebrauchsanweisungen
Wolf
Handgeräte
Heckenscheren
Universalscheren
Handgrasscheren
Astscheren
Baumscheren
Baumpflege
Beleuchtungssysteme
Accuscheren
Häcksler
Sägen
Trimmer
Spindelmäher
Streuwagen / Portax
Schlauchwagen
Vertikutierer / Lüfter / Aerifizierer
Mäher
Accu
Benzin
Elektro
Schiebe bis 38 cm
Schiebe ab 40 cm
2er
4er
6er
Concept
Concept 43 E ( 2000 / 4317000-A )
Datenblatt (4317000a-2000-1)
Chassis und Anbauteile (4317000a-2000-2)
Achse, Räder, Höhenverstellung (4317000a-2000-3)
Gestell (4317000a-2000-4)
Motor, Messerbalken (4317000a-2000-5)
Griff, Schalter (4317000a-2000-6)
Fangsack Concept ( 2005 / 6450072- )
Premio
Power Edition
Esprit
Sonstige
Compact plus
Antrieb
Aufsitzmäher
Benzinmotoren
Zubehör
Impressum
(C) by motoruf