Zurück zu
>
Mäher
>
Elektro
>
Schiebe ab 40 cm
>
Premio
>
Premio 40 E ( 2003 / 4028003-B, C )
>
Abdeckhaube, Motor, Messer (4028003bc-2003-5)
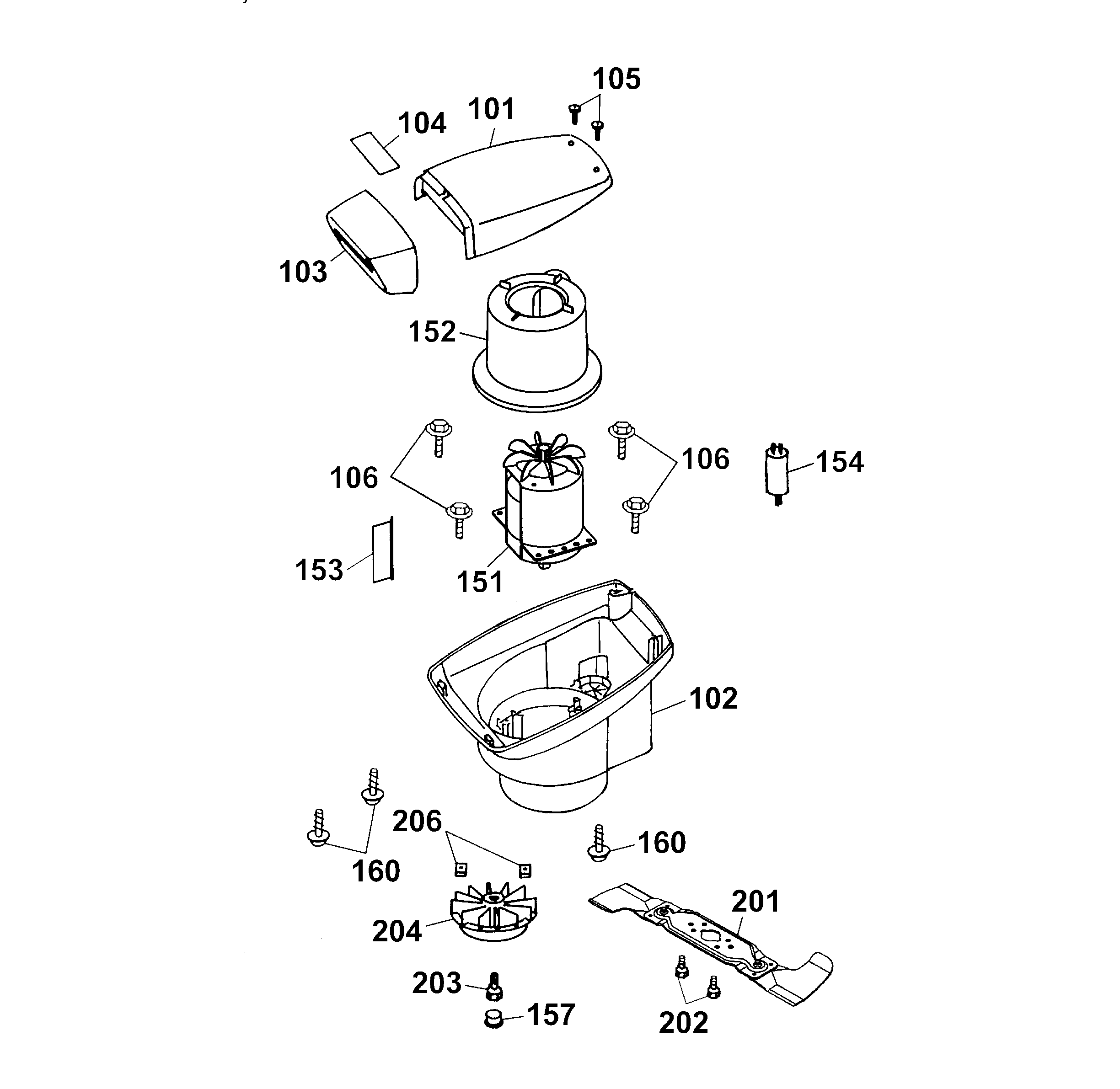
Ersatzteillisten für Wolf Mäher Abdeckhaube, Motor, Messer (4028003bc-2003-5)
Pos.
Bezeichnung
Ersatzteilnummer
101
Oberteil
4317 301
102
Unterteil
4620 300
103
Frontteil
4317 302
104
Produkt-Etikett
4028 205
105
PT-Schraube
0012 625
106
Schraube
0012 886
151
Motor 1600 Watt
1142 081
152
Luftführungshaube
4961 326
153
Luftleitfolie
1142 300
154
Kondensator 20 ?F
1133 030
157
Stopfen
4317 308
160
PT-Schraube
0012 641
201
Messerbalken kpl. VI 40 W
4001 094
***
VI-W Messerklingen (1 Paar)
4350 040
202
6kt.-Schraube
0010 385
203
6kt.-Schraube
0010 403
204
Lüfter
4317 026
206
4kt.-Mutter
0016 409
Gebrauchsanweisungen
Wolf
Handgeräte
Heckenscheren
Universalscheren
Handgrasscheren
Astscheren
Baumscheren
Baumpflege
Beleuchtungssysteme
Accuscheren
Häcksler
Sägen
Trimmer
Spindelmäher
Streuwagen / Portax
Schlauchwagen
Vertikutierer / Lüfter / Aerifizierer
Mäher
Accu
Benzin
Elektro
Schiebe bis 38 cm
Schiebe ab 40 cm
2er
4er
6er
Concept
Premio
Premio 40 E ( 2001 / 4028000-A )
Premio 40 E / CH ( 2001 / 4028003-A )
Premio 46 E ( 2001 / 4628000-A )
Premio 40 EKF ( 2002 / 4026000-A, B )
Premio 40 EKF ( 2002 / 4026003-A, B )
Premio 40 E ( 2003 / 4028000-B, C )
Premio 40 E ( 2003 / 4028003-B, C )
Datenblatt (4028003bc-2003-1)
Chassis (4028003bc-2003-2)
Achse, Räder, Höhenverstellung (4028003bc-2003-3)
Griff, Schalter (4028003bc-2003-4)
Abdeckhaube, Motor, Messer (4028003bc-2003-5)
Fangkorb Premio ( 2005 / 4950065- )
Premio 46 E ( 2003 / 4628000-B, C )
Premio 40 EKF ( 2004 / 4026000-D )
Premio 40 EKF ( 2004 / 4026003-D )
Premio 40 E ( 2004 / 4028000-D, E )
Premio 40 E ( 2004 / 4028003-D, E )
Premio 46 E ( 2004 / 4628000-D, E )
Premio 40 EKF ( 2003 / 4026000-C )
Power Edition
Esprit
Sonstige
Compact plus
Antrieb
Aufsitzmäher
Benzinmotoren
Zubehör
Impressum
(C) by motoruf